EasyManua.ls Logo

OPTi 616/2629 - Step 2: Holder & Seat Support Attachment

OPTi 616/2629
21 pages
Print Icon
To Next Page IconTo Next Page
To Next Page IconTo Next Page
To Previous Page IconTo Previous Page
To Previous Page IconTo Previous Page
Loading...
6
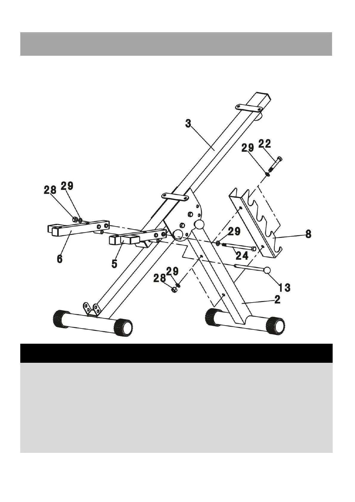
Assembly Instructions
A. Attach Dumbbell Holder (8) to the Rear Stabilizer (2), Align the hole and secure with two
M10x65MM Hex Bolts (22), four Φ10MM Washers (29) and two M10 Aircraft Nuts (28).
B. Attach the Left &Right Seat Pad Supports (6&5) to each side of the Backrest Support (3),
Align the top hole and secure with one M10x160MM Hex Bolt (24), two Φ10MM Washers
(29) and one M10 Aircraft Nut (28).
C. The Seat Pad Support Assembling have two position incline adjustments, Select your
desired angle and secure with one 175MM Lock Pin(13)
Step 2

Related product manuals