EasyManua.ls Logo

oventrop Hydrocontrol MTR - Page 14

oventrop Hydrocontrol MTR
84 pages
Print Icon
To Next Page IconTo Next Page
To Next Page IconTo Next Page
To Previous Page IconTo Previous Page
To Previous Page IconTo Previous Page
Loading...
Installation & Initial Operation "Hydrocontrol MTR" (lead-free)
14
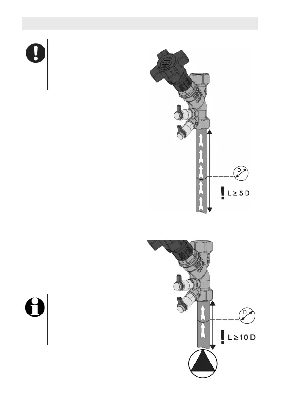
Fig. 7: Straight pipe section before valve
Alengthofstraight
pipe at least ve(5)
pipe diameters must
beinstalledbeforethe
inletofthevalve.
When installed after a pump,
theremust be at leastten (10)
pipe diameters length of straight
pipebeforethevalve.
Fig. 8:
Minimum distance from valve to pump
The handwheel
and measuring
connections should
beeasilyaccessible
followingassembly.

Table of Contents

Related product manuals