EasyManua.ls Logo

oventrop Hydrocontrol MTR - Page 38

oventrop Hydrocontrol MTR
84 pages
Print Icon
To Next Page IconTo Next Page
To Next Page IconTo Next Page
To Previous Page IconTo Previous Page
To Previous Page IconTo Previous Page
Loading...
Installation et mise en service «Hydrocontrol MTR» (lead-free)
38
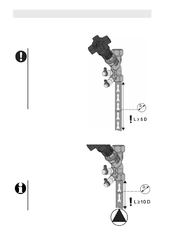
Leproduitpeutêtremontéentout
lieu,horizontalement,verticalement
ou en angle, dans des conduites
ascendantesoudescendantes.
Lorsdel'installation,
veilleràposerunseg-
ment de tuyau droit
danslesensd'écou-
lement en amont du
robinet.
Ce segment de tuyau
doit être au moins
5 fois plus long que
le diamètre du tuyau
utilisé.
Fig. 7: Segment de tuyau droit avant
le robinet
Fig. 8: Distance minimale entre
robinet et circulateur
Si le robinet doit être installé à
proximité immédiate d'un circu-
lateur, le segment de tuyau droit
doit être au moins dix fois plus
long que le diamètre du tuyau
utilisé.
Aprèsl'installation,
lapoignéeetles
raccords de mesure
doivent être facilement
accessibles.

Table of Contents

Related product manuals