EasyManua.ls Logo

Owon SDS1202 - Page 8

Owon SDS1202
67 pages
Print Icon
To Next Page IconTo Next Page
To Next Page IconTo Next Page
To Previous Page IconTo Previous Page
To Previous Page IconTo Previous Page
Loading...
2.Safety Terms and Symbols
3
To avoid body damage and prevent product and connected equipment damage, carefully
read the following safety information before using the test tool. This product can only be
used in the specified applications.
Warning:
The two channels of the oscilloscope are not electrically isolated. The channels should
adopt a common ground during measuring. To prevent short circuits, the 2 probe
grounds must not be connected to 2 different non-isolated DC levels.
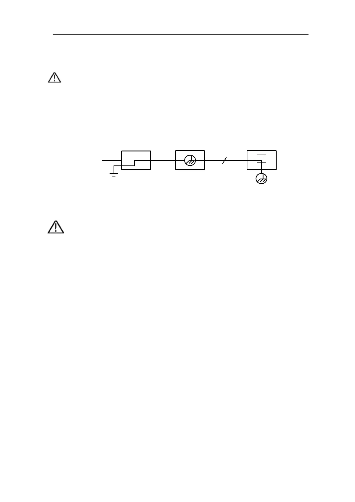
The diagram of the oscilloscope ground wire connection:
Ground Clip
Signal Input
Oscilloscope
Electrical Outlet
Probe
Power Cord
It is not allowed to measure AC power when the AC powered oscilloscope is
connected to the AC-powered PC through the ports.
, when the oscilloscope input signal
is more than
, please take note of below items:
Only use accessory insulated voltage probes and test lead.
Check the accessories such as probe before use and replace it if
there are any damages.
Remove probes, test leads and other accessories immediately after
use.
Remove USB cable which connects oscilloscope and computer.
because the probe tip voltage will directly transmit
oscilloscope. Use with caution when the probe is set as 1:1.
Do not use exposed metal BNC or banana plug connectors.
Do not insert metal objects into connectors.

Table of Contents

Related product manuals