EasyManua.ls Logo

Panasonic CS-S12MKQ

Panasonic CS-S12MKQ
144 pages
To Next Page IconTo Next Page
To Next Page IconTo Next Page
To Previous Page IconTo Previous Page
To Previous Page IconTo Previous Page
Loading...
17
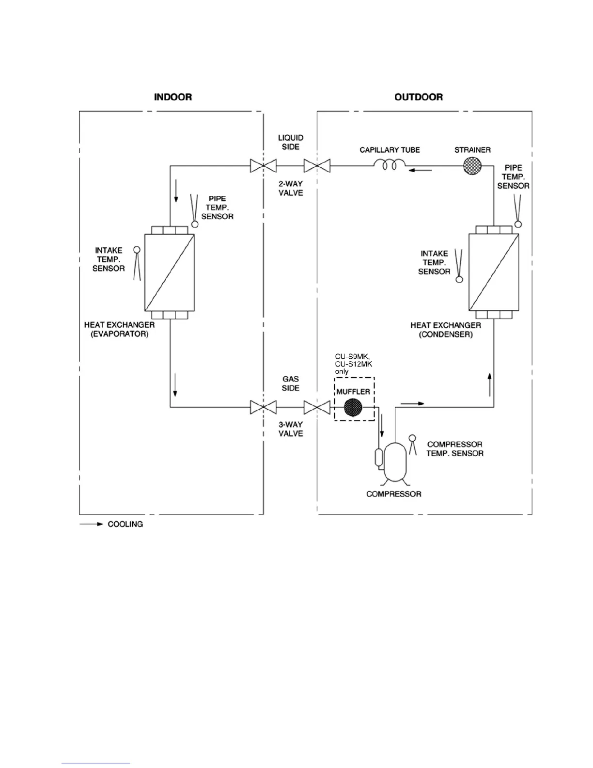
5. Refrigeration Cycle Diagram
5.1 CS-S9MKQ CU-S9MKQ CS-S12MKQ CU-S12MKQ

Table of Contents

Other manuals for Panasonic CS-S12MKQ

Related product manuals