EasyManua.ls Logo

Panasonic CU-3E18EBE - Wiring Error Check Control

Panasonic CU-3E18EBE
136 pages
Print Icon
To Next Page IconTo Next Page
To Next Page IconTo Next Page
To Previous Page IconTo Previous Page
To Previous Page IconTo Previous Page
Loading...
The useful wiring error check function automatically corrects
wiring errors using a microcomputer.
In cases where wires are embedded or the locations of
connecting wires are not known for other reasons, for instance,
pressing the wiring error check switch inside the right side
panel of the outdoor unit enables operation as is even if the
wires to room A are connected to room B by mistake. Wiring
error checks cannot be performed in the following situations:
For about 30 seconds (during the initial settings) after the
power was turned on.
During the 3-minute standby after the compressor has
stopped.
When the outside air temperature is below 5 °C.
When trouble has occurred in the indoor unit (including
trouble in transmission to all rooms).
This function need not be used if the correct piping and
wiring are completely done.
Operation method
1. Remove the service panel (right side panel). (5 screws)
2. Press the writing error check switch on the service monitor
P.C. Board to start the writing error check operation.
3. The writing error check is automatically completed in about
10 to 15 minutes.
4. When the faulty wiring check is completed, the service
monitor LEDs blink.
LED 1 2 3 4 Judgement
Display All LEDs blink Blinking Automatic Correction
cannot be done.
Blink in squence Off Automatic Correction
have been
implemented.
Automatic correction have been implemented: LEDs 1, 2 and 3
blink in sequence (LED4 is off).
Automatic correction cannot be done: LEDs 1 to 4 blink
simultaneously to indicate:
A transmission problem in one of the indoor units.
A disconnected heat exchanger thermistor in an indoor unit
Trouble in an indoor unit (when the trouble has occurred
during the wiring error check)
Trouble stopping: One of the LEDs 1 to 4 lights.
Precautions
1. About 10 to 15 minutes are required to conduct the
check after the wiring error switch is pressed. (Only
wiring error between an unit A and unit B cannot be
corrected.)
2. If liquid pipes and gas pipe connected to different unit it
cannot be corrected "automatically", be absolutely sure
to run the liquid pipes and gas pipes in pairs.
3. If the wiring error check switch is pressed again during
a wiring error check, the wiring error check can be
forcibly terminated. In this case, what is stored in the
microcomputer will be the initial statuses (wiring room A
piping A port, wiring room B piping B port).
4. The wiring error check function MUST be used when
the outdoor unit P.C. Board is replaced.
Basic knowledge
The principle operation of this function is as follows:
The refrigerant flows in succession from the port A,
and by detecting the temperature of the indoor unit
heat exchanger sensor, the connected pipes and
wires are collated.
The sound of ice forming (a crackling noise) may be
heard from the indoor unit while this function is
operating: this is normal and not indicative of a
malfunction. (This phenomenon occurs because the
heat exchanger temperature is lowered to 0 °C or
below in order to improve the detection accuracy.)
The indoor fan is also set to ON and OFF at the
same time.
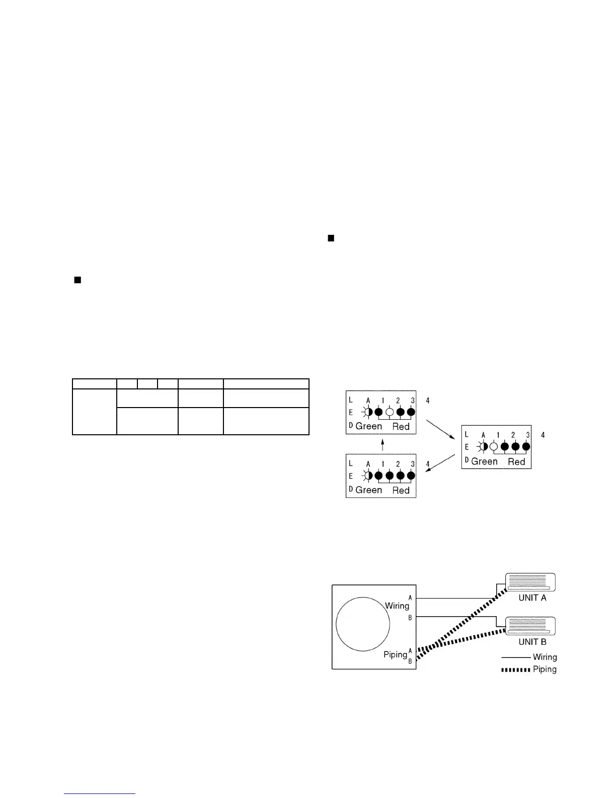
How to check the information currently stored in the
microcomputer
This information can be checked by observing the blinking
of the LEDs on the service monitor upon completion of the
wiring error check, during forced operation or after stopped.
LED1: Wiring room A, LED2: wiring room B
The first LED to blink denotes the piping port A and the
second LED denotes the piping port B.
The LED which has lighted first denotes the room whose
wiring is connected to the piping port A, and the next LED
denotes the port B.
<Example> When the LEDs blink as shown below
The LEDs in this figure denote that the piping port A has
been connected (automatically corrected) to the wiring
room B and that the piping port B has been connected
(automatically corrected) to the wiring room A.
8.7. Wiring Error Check Control
89

Other manuals for Panasonic CU-3E18EBE

Related product manuals