EasyManua.ls Logo

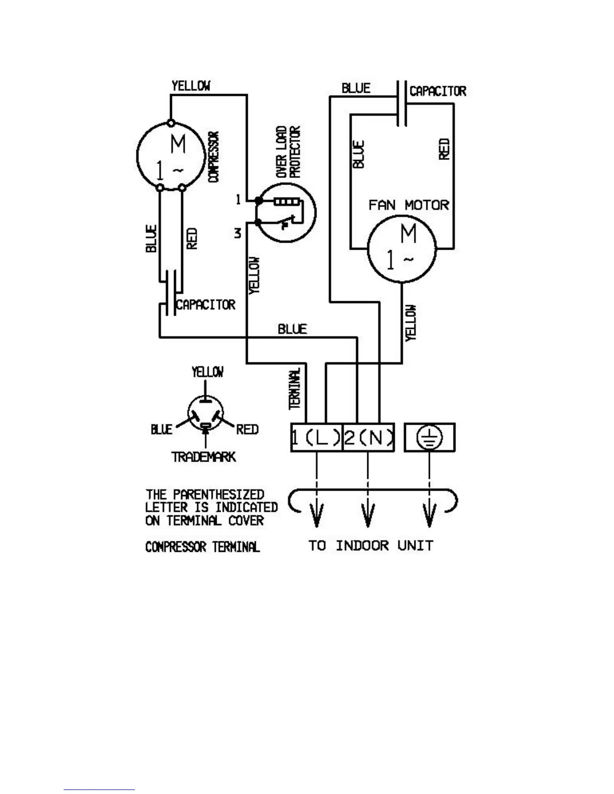
Panasonic CU-YC12MKV - Outdoor Unit Wiring

Panasonic CU-YC12MKV
41 pages
Print Icon
To Next Page IconTo Next Page
To Next Page IconTo Next Page
To Previous Page IconTo Previous Page
To Previous Page IconTo Previous Page
Loading...
17
7.2 Outdoor Unit

Related product manuals