EasyManua.ls Logo

Panasonic DP-4530 - Staple Position

Panasonic DP-4530
858 pages
To Next Page IconTo Next Page
To Next Page IconTo Next Page
To Previous Page IconTo Previous Page
To Previous Page IconTo Previous Page
Loading...
718
JAN 2006
Ver. 5.2
DP-3510/3520/3530/4510/4520/4530/6010/6020/6030
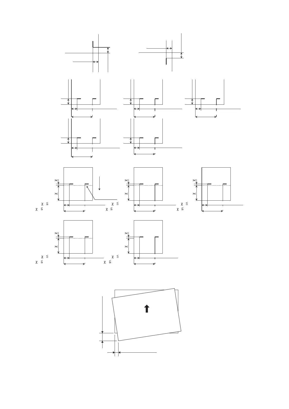
Staple Position
Fig. 1-001
Stacked Paper Alignment
Fig. 1-002
0.2±0.08 in
(5±2 mm)
0.18±0.08 in
(4.5±2 mm)
0.2±0.08 in
(5±2 mm)
A3 or A4
0.2±0.08 in
(5±2 mm)
0.18±0.08 in
(4.5±2 mm)
Front 1-point stapling
Middle 2-point stapling
Middle 2-point stapling (w/ saddle in use)
Rear 1-point stapling
3.27±0.16 in (83±4 mm)
7.99±0.16 in (203±4 mm)
0.2±0.08 in
(5±2 mm)
A4-R
1.56±0.16 in (39.5±4 mm)
6.28±0.16 in (159.5±4 mm)
0.2±0.08 in
(5±2 mm)
LDR
or LTR
2.92±0.16 in (74.2±4 mm)
7.65±0.16 in (194.2±4 mm)
0.2±0.08 in
(5±2 mm)
LGL or LTR-R
8.5 FLS
1.67±0.16 in (42.5±4 mm)
6.4±0.16 in (162.5±4 mm)
0.2±0.08 in
(5±2 mm)
B4 or B5
2.48±0.16 in (63±4 mm)
7.2±0.16 in (183±4 mm)
A3
3.27±0.16 in (83±4 mm)
±1.5 mm
1
210±2.0 mm2
148.5±2.0 mm2
7.99±0.16 in (203±4 mm)
A4-R
1.56±0.16 in (39.5±4 mm)
6.28±6.16 in (159.5±4 mm)
LDR
2.92±0.16 in (74.2±4 mm)
7.65±0.16 in (194.2±4 mm)
LTR-R
1.67±0.16 in (42.5±4 mm)
6.4±0.16 in (162.5±4 mm)
B4
2.48±0.16 in (63±4 mm
)
12
12
7.2±0.16 in (183±4 mm)
Transfer direction
Folding
position
182±2.0 mm2
12
±1.5 mm
1
±1.5 mm
1
±1.5 mm1
216±2.0 mm2
12
±1.5 mm1
139.7±2.0 mm2
12
1.57 in max.(40 mm)
0.79 in max.(20 mm)
Delivery Direction

Table of Contents

Other manuals for Panasonic DP-4530

Related product manuals