EasyManua.ls Logo

Panasonic SA-AK44 - Cabinet Parts List

Panasonic SA-AK44
120 pages
Print Icon
To Next Page IconTo Next Page
To Next Page IconTo Next Page
To Previous Page IconTo Previous Page
To Previous Page IconTo Previous Page
Loading...
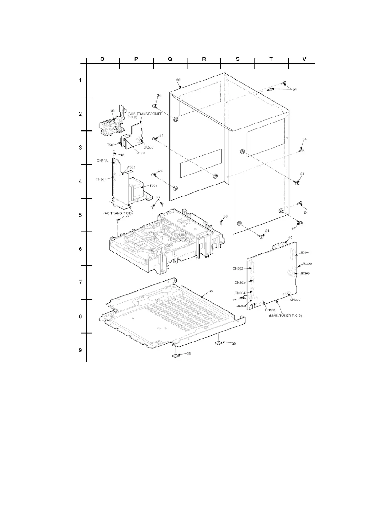
20.3.2. Cabinet Parts List

Related product manuals