EasyManua.ls Logo

Panasonic SA-HR45E - Page 23

Panasonic SA-HR45E
75 pages
Print Icon
To Next Page IconTo Next Page
To Next Page IconTo Next Page
To Previous Page IconTo Previous Page
To Previous Page IconTo Previous Page
Loading...
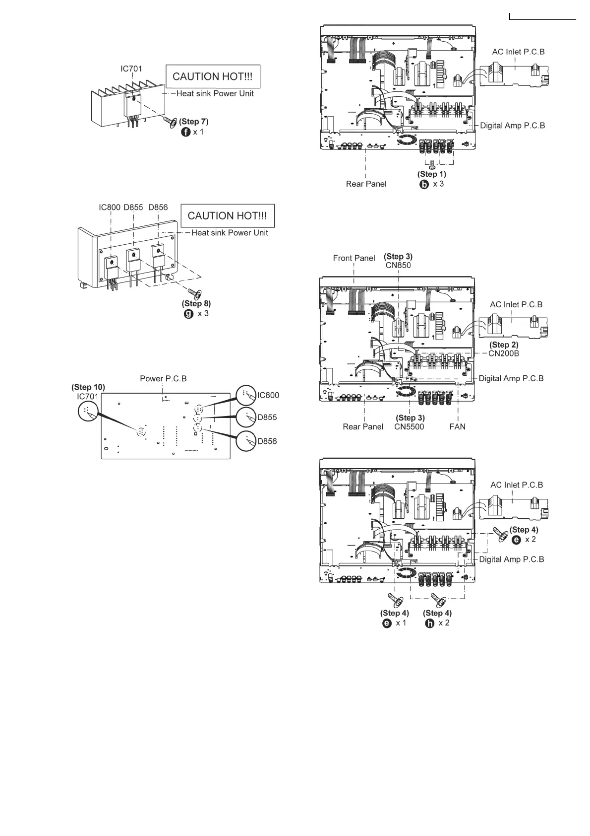
Caution: Handle the heat sink power unit with caution due
to its high temperature after prolonged use. Touching it,
may lead to injuries.
Step 8: Remove 3 screws (from IC800, D855 and D856).
Caution: Handle the heat sink power unit with caution due
to its high temperature after prolonged use. Touching it,
may lead to injuries.
Step 9: Flip to solder side.
Step 10: Desolder the respective terminal as shown to replace
components.
7.12. Disassembly of Digital Amp
P.C.B.
Follow the (Step 1) - (Step 4) of item 7.4. - Disassembly of
Top Cabinet.
Follow the (Step 1) - (Step 5) of item 7.10. - Disassembly of
AC Inlet P.C.B..
Step 1: Remove 3 screws at Rear Panel.
Step 2: Detach FFC cables on connector (CN200B) on Digital
Amp P.C.B..
Step 3: Detach wire on connectors (CN5500 & CN850) from
Digital Amp P.C.B..
Step 4: Remove 5 screws on Digital Amp P.C.B..
Step 5: Lift up and remove the Digital Amp P.C.B. as shown in
the pictures.
23
SA
-
HR
45
E/SA
-
HR
45
EG

Related product manuals