EasyManua.ls Logo

Panasonic SA-PM17E - Page 44

Panasonic SA-PM17E
146 pages
Print Icon
To Next Page IconTo Next Page
To Next Page IconTo Next Page
To Previous Page IconTo Previous Page
To Previous Page IconTo Previous Page
Loading...
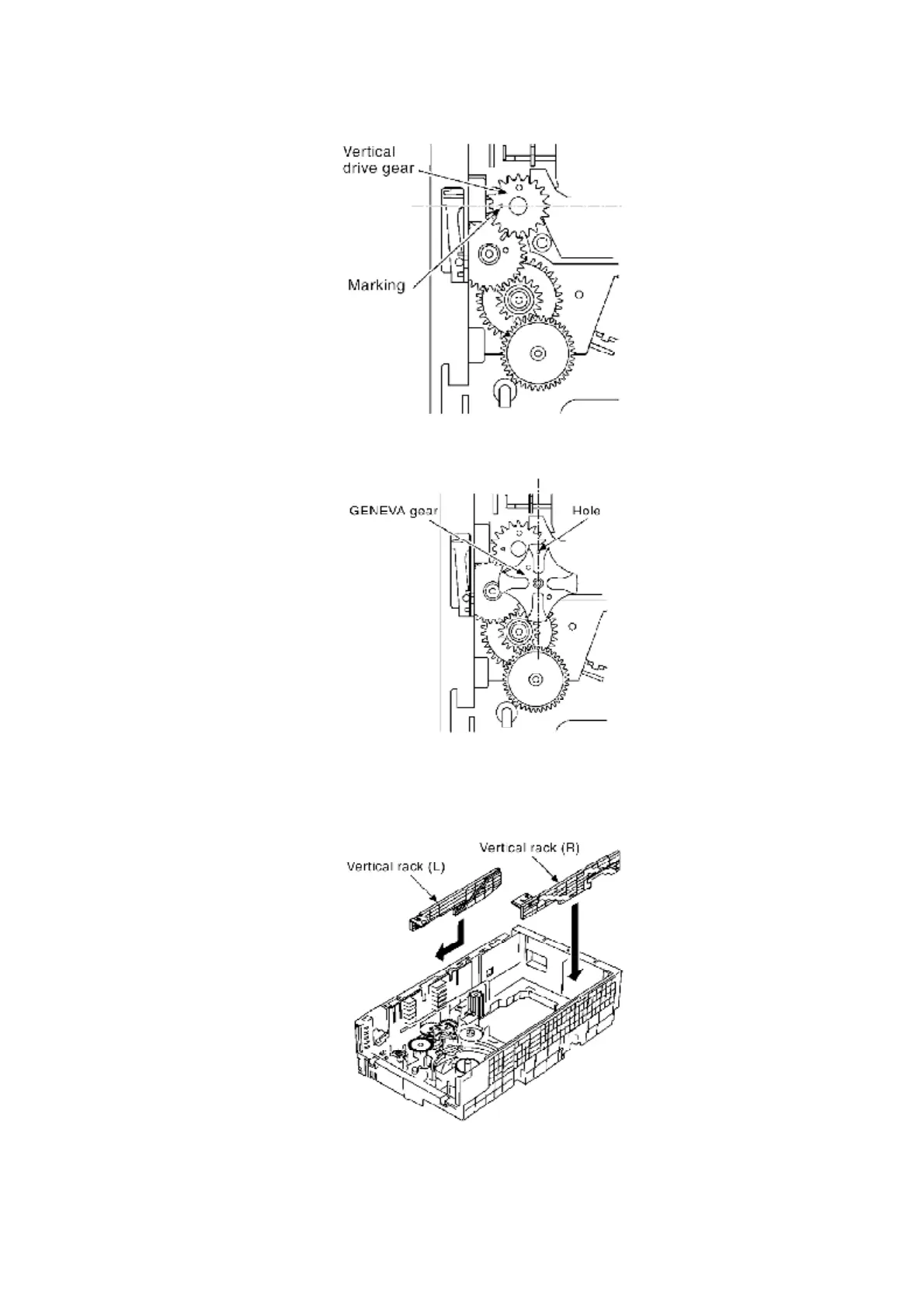
3. Set a hole as shown below to fix GENEVA gear.
9.13.1.3. Notes on fixing a vertical rack (L)
1. Fix vertical rack (L) and (R).
2. Position the concave portion of a vertical rack (L) to trapezoidal
44

Related product manuals