EasyManua.ls Logo

Panasonic SA-PM17E - Page 61

Panasonic SA-PM17E
146 pages
Print Icon
To Next Page IconTo Next Page
To Next Page IconTo Next Page
To Previous Page IconTo Previous Page
To Previous Page IconTo Previous Page
Loading...
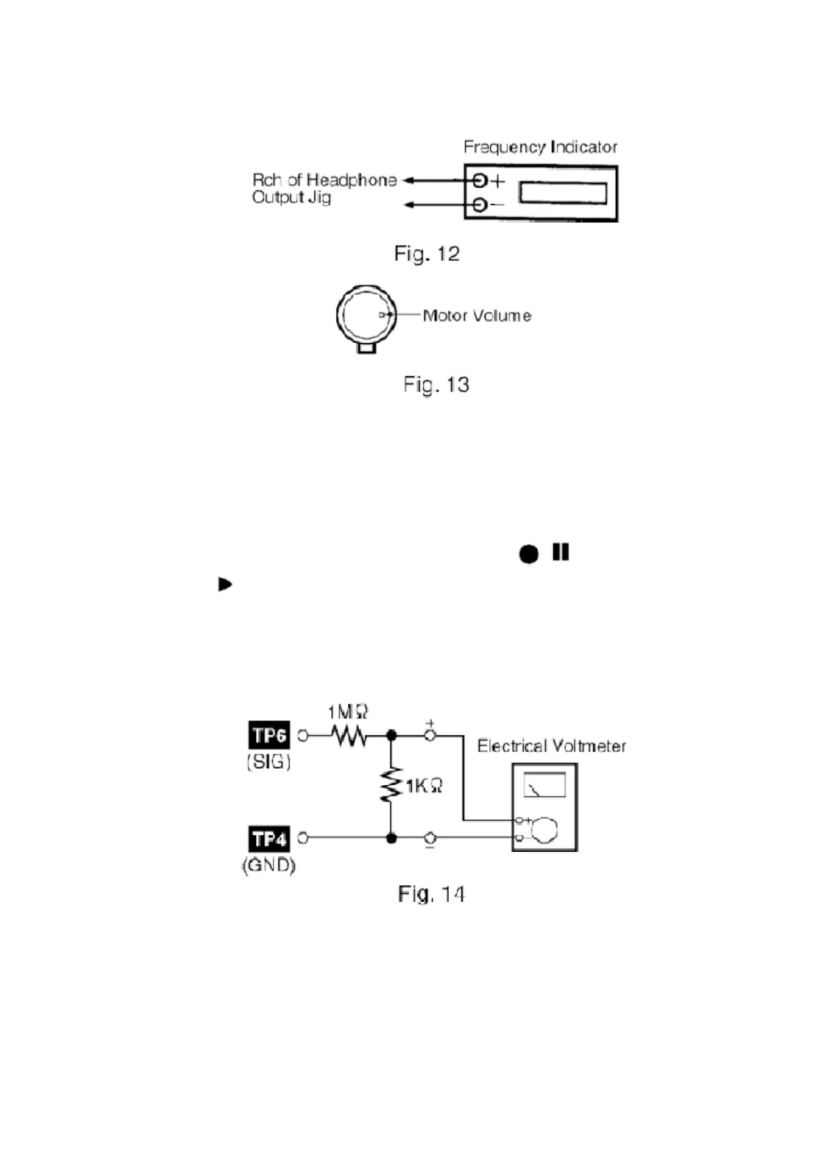
11.2.6. Bias Voltage Check
1. Connect an electrical voltmeter. (Cf. Fig. 9) (Cf. Fig. 14)
2. Set the function to TAPE position.
3. Insert a normal blank cassette tape (QZZCRA).
4. While pressing and holding down [REC ( / )] button, press
[TAPE ( )] button to pause the recording mode. (Repeat pressing
the buttons till the recording pause mode is activated.)
5. Check that the output level is within the standard range.
Standard Range: 14 ± 4mV
12. Block Diagram
13. Schematic Diagram
(All schematic diagrams may be modified at any time with the development of new technology.)
Notes:
61

Related product manuals