EasyManua.ls Logo

Panasonic SA-PM17E - Page 60

Panasonic SA-PM17E
146 pages
Print Icon
To Next Page IconTo Next Page
To Next Page IconTo Next Page
To Previous Page IconTo Previous Page
To Previous Page IconTo Previous Page
Loading...
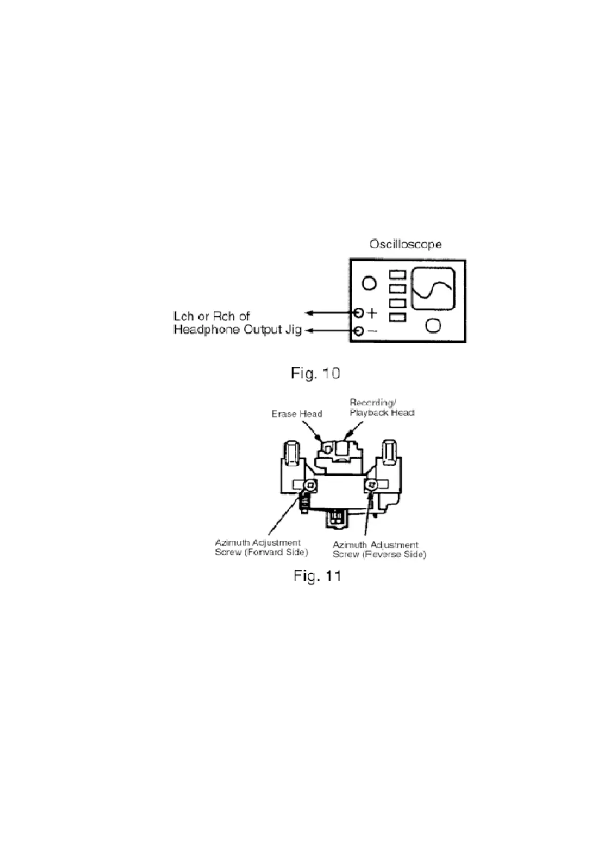
is played in forward and reverse directions does not exceed 1.5dB.
5. After the adjustment, fasten screwlock to the azimuth adjusting
screw.
(Note)
Before adjusting the head azimuth, be sure to remove the
screwlock adhesive attached around the head for fine
adjustments.
11.2.5. Tape Speed Adjustment
- Normal speed adjustment (only during forward playback)
(Product reference value: 3,000±90Hz)
1. Connect a frequency indicator. (Cf. Fig. 12)
2. Playback the middle portion of the test tape (QZZCWT).
3. Adjust the motor volume so that the following output level is
produced. (Cf. Fig. 16)
Adjustment Range: 3,000 ± 90Hz (a constant speed)
60

Related product manuals