EasyManua.ls Logo

Panasonic TH-49D400A - External Inputs and Media Player; Connecting and Selecting External Sources; Introduction to Media Player; USB Flash Drive Management

Panasonic TH-49D400A
84 pages
Print Icon
To Next Page IconTo Next Page
To Next Page IconTo Next Page
To Previous Page IconTo Previous Page
To Previous Page IconTo Previous Page
Loading...
TH-49D400A/TH-49D400Z
11
6.2. Power LED Blinking timing chart
1. Subject
Information of LED Flashing timing chart.
2. Contents
When an abnormality occurs, the protection circuit will operate and reset the unit to stand by mode. During this time, the
defective block can be identified by the number of blinking times of the Power LED on the front panel of the unit as follow:
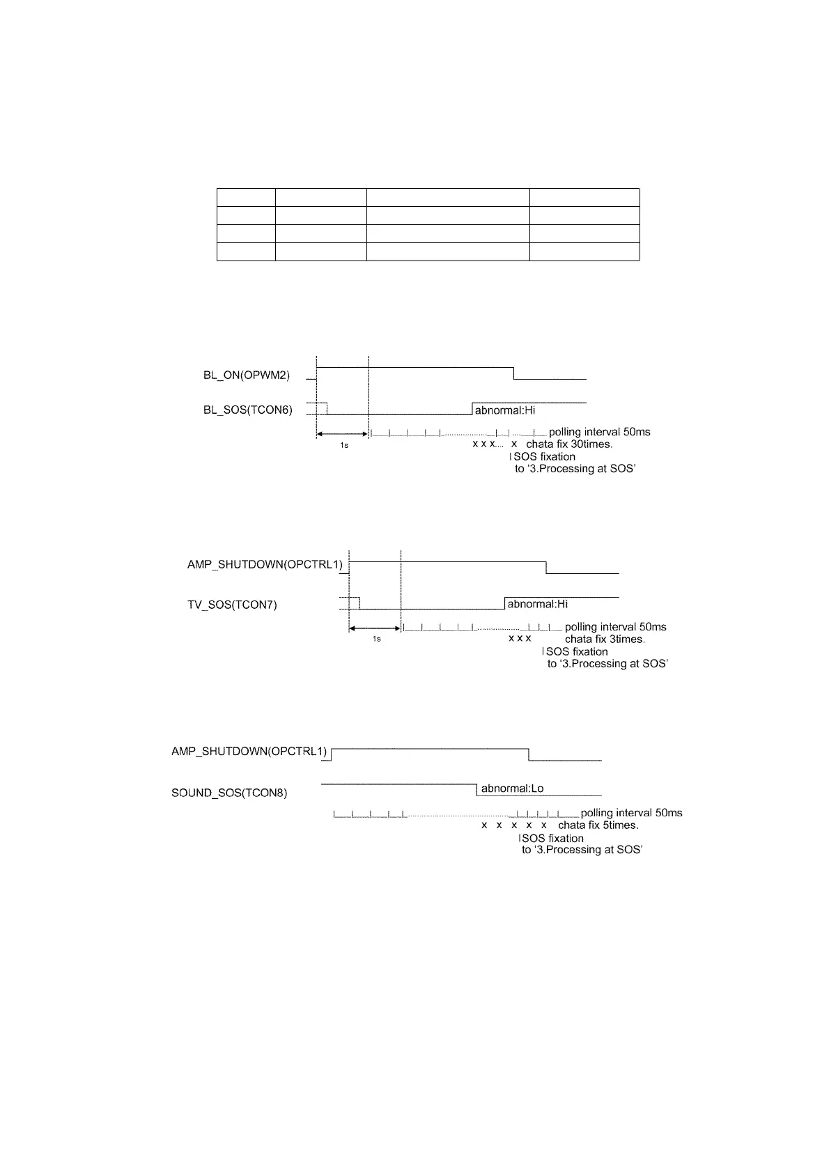
6.3. Method of detecting SOS
1. BL_SOS
Detection beginning after one second pass from ‘BL_ON’=ON
2. TV_SOS
Detection beginning after one second pass from ‘AMP_SHUTDOWN’=ON
3. SOUND_SOS
Detection beginning ‘AMP_SHUTDOWN’=ON
Priority Name Factor R_LED Blink
1 BL_SOS SOS from PANEL inverter 1
2 TV_SOS TCON power down 3
3 SOUND_SOS SOS from audio AMP 9

Other manuals for Panasonic TH-49D400A

Related product manuals