EasyManua.ls Logo

Panasonic TH-50FS600D - 6.2. Power LED Blinking timing chart; 6.3. Method of detecting SOS

Panasonic TH-50FS600D
79 pages
Print Icon
To Next Page IconTo Next Page
To Next Page IconTo Next Page
To Previous Page IconTo Previous Page
To Previous Page IconTo Previous Page
Loading...
14
TH-50FS600D
6.2. Power LED Blinking timing chart
1. Subject
Information of LED Flashing timing chart.
2. Contents
When an abnormality occurs, the protection circuit will operate and reset the unit to stand by mode. During this time, the
defective block can be identified by the number of blinking times of the Power LED on the front panel of the unit as follow:
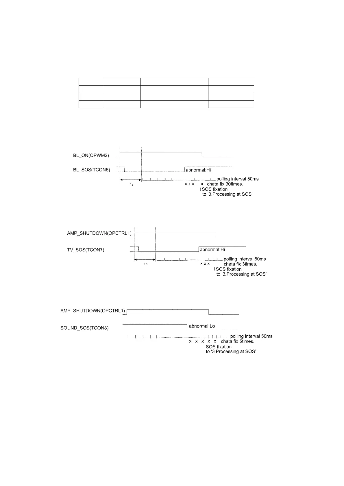
6.3. Method of detecting SOS
1. BL_SOS
Detection beginning after one second pass from ‘BL_ON’=ON
2. TV_SOS
Detection beginning after one second pass from ‘AMP_SHUTDOWN’=ON
3. SOUND_SOS
Detection beginning ‘AMP_SHUTDOWN’=ON
Priority Name Factor R_LED Blink
1 BL_SOS SOS from PANEL inverter 1
2 TV_SOS TCON power down 3
3 SOUND_SOS SOS from audio AMP 9

Related product manuals