EasyManua.ls Logo

Pando PI3100 - Bedienfeld; Bedienung des Kochfeldes; Anzeige; Belüftung

Pando PI3100
Print Icon
To Next Page IconTo Next Page
To Next Page IconTo Next Page
To Previous Page IconTo Previous Page
To Previous Page IconTo Previous Page
Loading...
51
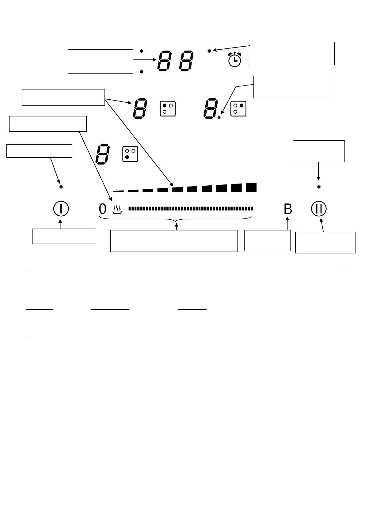
Bedienfeld
BEDIENUNG DES KOCHFELDES
Anzeige
Anzeige Benennung Funktion
0 Null Die Kochzone ist aktiviert
1…9 Leistungsstufe Einstellung der Leistung
U Topferkennung Topf nicht aufgesetzt oder nicht geeignet
A Ankochautomatik Höchste Leistung + Ankochen
E Fehleranzeige Fehler der Elektronik
H Restwärme Kochzone ist heiß
P Booster Die Booster Leistung ist aktiviert.
L Verriegelung Die Mulde ist abgesichert
U Warmhalte Warmhalte die Kochzone auf 70°C
II Pause Das Kochfeld ist in Pause.
Bridge 2 Kochzonen sind gebrückt.
Belüftung
Der Lüfter funktioniert automatisch. Er startet mit kleiner Geschwindigkeit, sobald die durch die
Elektronik freigesetzten Werte eine gewisse Schwelle überschreiten.
Die höhere Geschwindigkeit wird eingelegt, wenn die Induktionskochmulde intensiv benutzt wird.
Der Lüfter reduziert seine Geschwindigkeit und schaltet sich automatisch ab, sobald die
Elektronik genügend abgekühlt ist.
"SLIDER" Leistung und
Zeitschaltuhr Auswahlzone
Zeitschaltuhr Leuchten
Kochzonen Selektion
Leistungs-Anzeige
Leuchten
Kochzonen-Selektion
Booster
Taste
Pause/Rückruf
Taste
Pause/
Rückruf
Leuchte
Ein/Aus Leuchte
Ein/Aus Taste
Warmhalte Taste
Zeitschaltuhr
Anzeige

Table of Contents

Related product manuals