EasyManua.ls Logo

Parker ViX500AE - Drive LED Indicators

Parker ViX500AE
136 pages
Print Icon
To Next Page IconTo Next Page
To Next Page IconTo Next Page
To Previous Page IconTo Previous Page
To Previous Page IconTo Previous Page
Loading...
7. MAINTENANCE & TROUBLESHOOTING 109
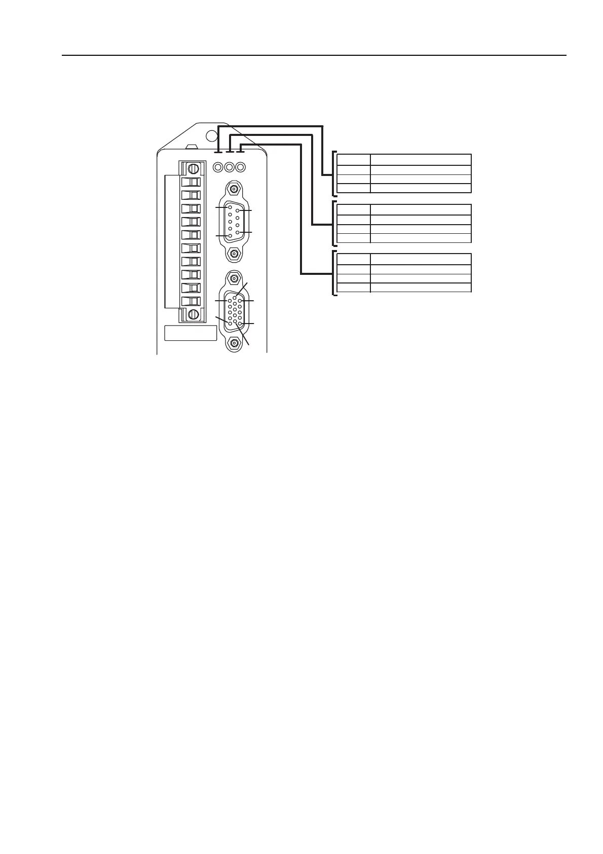
Drive LED Indicators
X3
X1
X4
ST
HV FB
10
10
11
9
6
15
6
1
1
1
5
5
Red Feedback fault with no HV
Orange
HV OK and feedback fault
Green
HV OK
Colour
Function
Red
Drive fault
Orange
Drive OK but de-energised
Green
Ready (energised)
Colour
Function
Red Comms fault
Orange
Comms status
Green
Comms OK
Colour
Function
Figure 7-2. Drive LED Indicators