EasyManua.ls Logo

Paslode 30 Degree - Page 15

Paslode 30 Degree
23 pages
Print Icon
To Next Page IconTo Next Page
To Next Page IconTo Next Page
To Previous Page IconTo Previous Page
To Previous Page IconTo Previous Page
Loading...
15
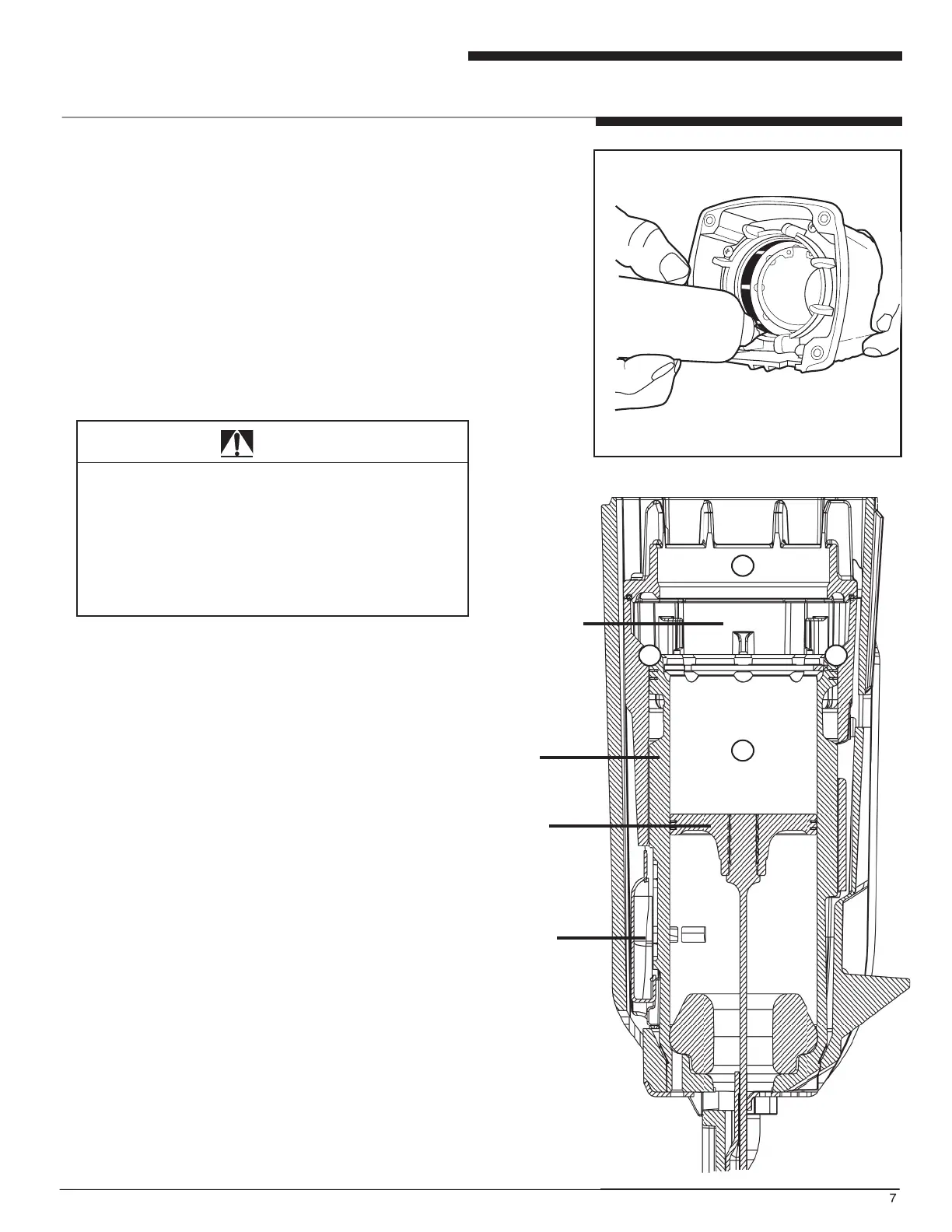
Conjunto del motor
Paso 7
Incline el conjunto del motor y aplique entre 3 y 4
gotas de aceite lubricante Paslode Cordless
uniformemente alrededor de la parte superior de la
camara de combustión (area "C"). Disperse el
aceite con el dedo.
Paso 8
Vuelva a armar la clavadora siguiendo, en orden
Inverso, los pasos del 1 al 3 en la página 2.
PELIGRO
Camisa
Conjunto
del pistón
Area
intermedia
Cámara
de combustión
7
A
B B
C
No trate de usar la clavadora menos que el con-
junto de la tapa esté sujeto firmente al bastidor.
Si usa la clavadora cuando el conjunto de la tapa
esté suelto, o cuando no lo tenga instalado, los
gases de combustión pueden escapar, la herra-
mienta se puede dañar, puede causar daños a la
propiedad y lesiones a quien la usa.
NOTA: Después de que haya vuelto a armar
completamente la herramienta y de que haya apre-
tado todos los tornillos, compruebe si la herra-
mienta funciona correctamente. Es posible que vea
salir algo de humo de los puertos de escape
durante los primeros ciclos, mientras sequema el
exceso de aceite. Revise el manual del propietario
para consultar las instrucciones de avenias en la
herramienta.

Related product manuals