EasyManua.ls Logo

Payne PG92SCS - Page 20

Payne PG92SCS
85 pages
Print Icon
To Next Page IconTo Next Page
To Next Page IconTo Next Page
To Previous Page IconTo Previous Page
To Previous Page IconTo Previous Page
Loading...
20
Air
gap
here
Open
standpipeLQKLJK
PLQLPXP
for
coilor
humidifier
drain
TEE
(1/2”
CPVC
to
3/4”
PVC
adapter
from
loose
parts
bag.)
To
open
drain
&RLORUKXPLGLILHUGUDLQ
ZKHQXVHG
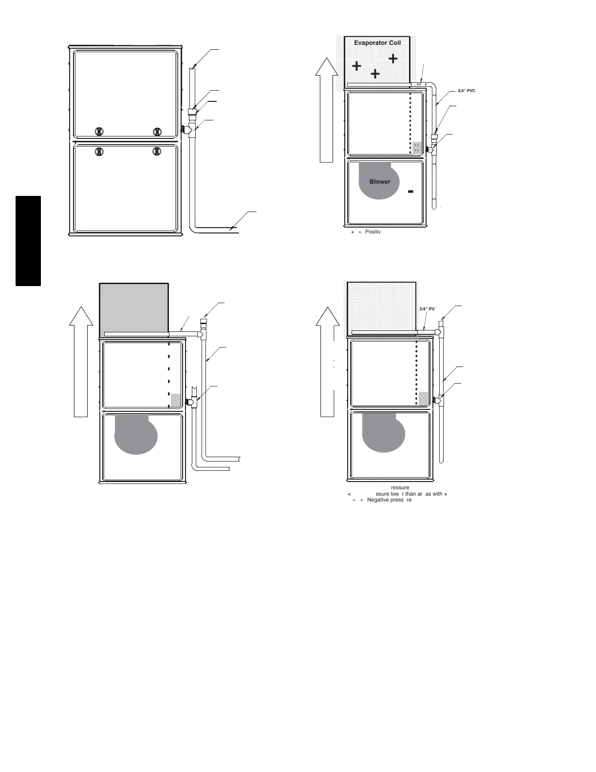
+
+
+
Condensing
Furnace
-
-
-
-
-
ÄÄÄÄÄÄÄÄÄÄ
ÄÄÄÄÄÄÄÄÄÄ
ÄÄÄÄÄÄÄÄÄÄ
ÄÄÄÄÄÄÄÄÄÄ
ÄÄÄÄÄÄÄÄÄÄ
ÄÄÄÄÄÄÄÄÄÄ
ÄÄÄÄÄÄÄÄÄÄ
Evaporator Coil
+
+
+
< +
< +
< +
+
Blower
-
3/4”
PVC
3/4
3/4
3/4
3/4
+ = Positive pressure
< + = Pressure lower than areas with +
ï = Negative pressure
+
3/4”
PVC
DIRECTION
OF
AIRFLOW
+
+
+
3/4
Open standpipeLQKLJKPLQLPXP
Air
gap
required
when
another
drain
is
connected
to
furnace
drain.
+
TEE
(1/2”
CPVC
to
3/4”
PVC
adapter
from
loose
parts
bag.)
+
+
+
Condensing
Furnace
ï
ï
ï
ï
ï
Evaporator Coil
+
+
+
< +
< + < +
+
Blower
ï
3/4” PVC
3/4
1/2”CPVCorlarger*
+
= Positive pressure
< +
= Pressure lower than areas with +
( = Negative pressure
+
3/4” PVC
DIRECTION OF AIRFLOW
+
+
+
+
3/4
3/4
3/4
3/4
Open
standpipe
(Optional
when coil drain
is
not
connected to
furnace
drain.)
Recommend “T” fitting
standpipe of same
diameteror larger
H[WHQGLQJXSZDUG
ZLWKPLQLPXPLQFKhigh
+
+
+
Condensing
Furnace
-
-
-
-
-
Evaporator
ÄÄÄÄÄÄÄÄÄ
Coil
ÄÄÄÄÄÄÄÄÄ
+
ÄÄÄÄÄÄÄÄÄ
+
ÄÄÄÄÄÄÄÄÄ
+
ÄÄÄÄÄÄÄÄÄ
ÄÄÄÄÄÄÄÄÄ
+
ÄÄÄÄÄÄÄÄÄ
< +
< +
< +
+
Blower
-
3/4”
PVC
3/4
3/4
3/4
3/4
3/4
3/4
+ = Positive pressure
< + = Pressure lower than areas with +
ï = Negative pressure
3/4”
PVC
Open
standpipe
(Optional
when
coil
drain
is
not
connected
to
furnace
drain.)
TEE
(1/2”
CPVC
to
3/4”
PVC
adapter
from
loose
parts
bag.)
DIRECTIONOFAIRFLOW
A170135
Fig. 14 Example of Field Drain Attachment
PG92S*S

Other manuals for Payne PG92SCS

Related product manuals