EasyManua.ls Logo

Payne PG9MAB - Winterization

Payne PG9MAB
14 pages
Print Icon
To Next Page IconTo Next Page
To Next Page IconTo Next Page
To Previous Page IconTo Previous Page
To Previous Page IconTo Previous Page
Loading...
12
6. Start your furnace and observe its operation. Watch the
burner flames to see if they are clear blue, almost transpar-
ent. (See Fig. 31.) If you observe a suspected malfunction,
or the burner flames are not clear blue, call your dealer.
A92330
Fig. 31 -- Burner Flame Adjustment
WINTERIZATION
UNIT AND PROPERTY DAMAGE HAZARD
Failure to follow this caution may result in unit component or
property damage.
If the furnace is installed in an unconditioned space where the
ambient temperatures may be 32_ F(0_ C) or lower, freeze
protection measures must be taken to prevent minor property
or product damage.
CAUTION
!
Since the furnace uses a condensing heat exchanger, some water
will accumulate in the unit as a result of the heat transfer process.
Therefore, once it has been operated, it cannot be turned off and
left off for an extended period of time when temperatures will
reach 32_F(0_C) or lower unless winterized. Follow these
procedures to winterize your furnace:
1. Obtain propylene glycol (RV/swimming pool antifreeze or
equivalent).
UNIT COMPONENT DAMAGE HAZARD
Failure to follow this caution may result in damage to the
furnace and other property damage.
Do not use ethylene glycol (Prestone II antifreeze coolant or
equivalent). Failure of plastic components may occur.
CAUTION
!
2. Turn off electrical supply to your furnace.
3. Remove main furnace door.
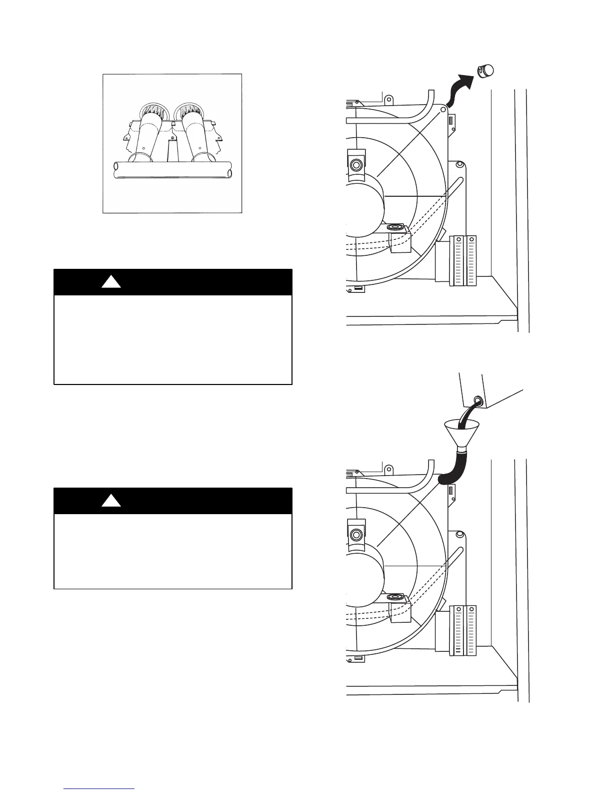
4. Remove upper inducer housing drain connection cap. (See
Fig. 32.)
5. Connect field-- supplied 1/2--in. (13 mm) ID tube to upper
inducer housing drain connection.
6. Insert field--supplied funnel into tube.
7. Pour 1 quart of antifreeze into funnel/tube. Antifreeze
should run through inducer housing, overfill condensate
trap, and flow into open field drain. (See Fig. 33.)
8. Remove funnel and tube from inducer housing and replace
drain connection cap and clamp.
9. Replace main furnace door.
10. Propylene glycol need not be removed before restarting fur-
nace.
A06456
Fig. 32 -- Drain Connection Cap
A06457
Fig. 33 -- Antifr eeze into Funnel / Tube

Related product manuals