EasyManua.ls Logo

Peak 212 - Hydraulic Power Unit and Hose Assembly

Peak 212
38 pages
Print Icon
To Next Page IconTo Next Page
To Next Page IconTo Next Page
To Previous Page IconTo Previous Page
To Previous Page IconTo Previous Page
Loading...
16
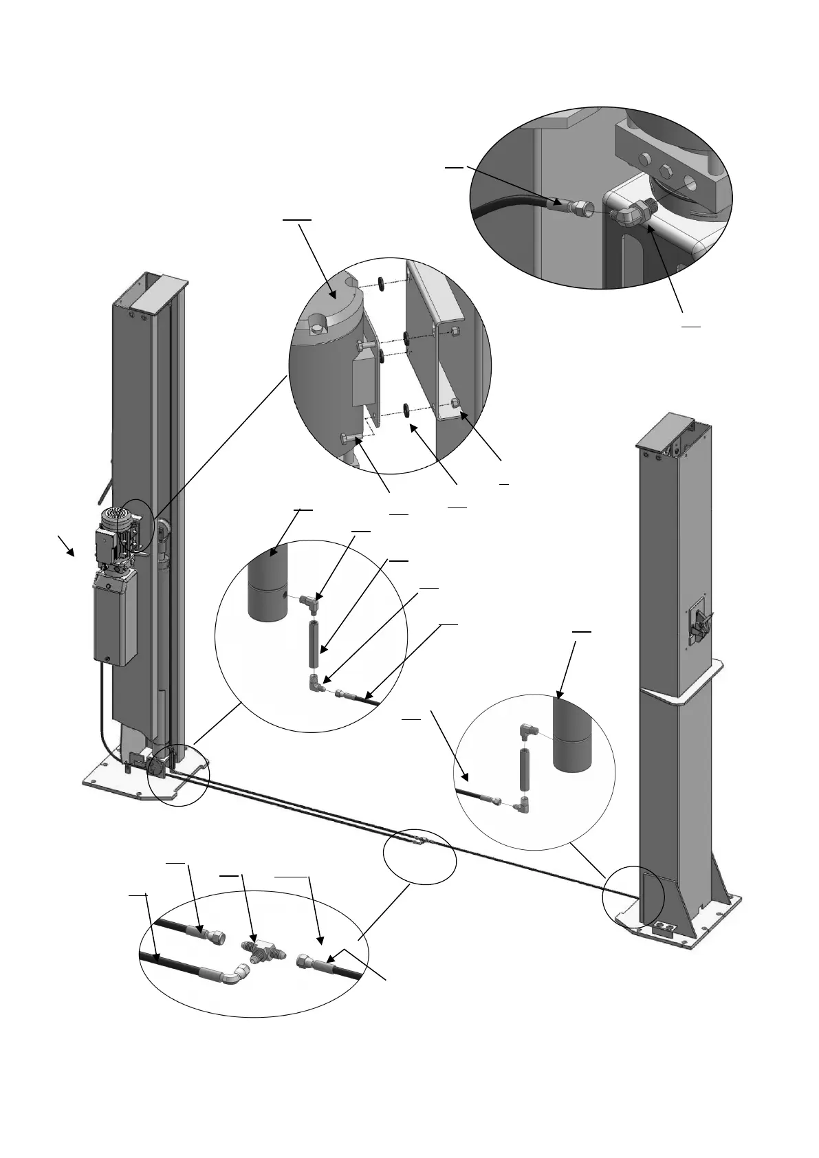
K. Install hydraulic power unit and oil hose assy. (See Fig. 24).
Fig. 24
View A
74
83
84
83A
20
81
For columns distance 3000mm, use 1390mm oil hose.
For columns distance 3137mm, use 1520mm oil hose.
75
74
View A
203
77
76
7
20
78
79
80
81

Related product manuals