EasyManua.ls Logo

PEERLESS PSC II Series - Page 31

PEERLESS PSC II Series
40 pages
Print Icon
To Next Page IconTo Next Page
To Next Page IconTo Next Page
To Previous Page IconTo Previous Page
To Previous Page IconTo Previous Page
Loading...
29
b. Remove jacket removable door, air inlet pipe, air
box cover, and air box diffuser screen.
c. Remove burner hitch pin clips. Disconnect pilot
tubing at compression elbow.
d. Disconnect pilot harness at gas valve. Gently pull
pilot harness further inside air box to be able to
remove burner with attached pilot.
e. Remove burners and pilot.
f. Brush gas outlet ports lightly using a soft bristle
brush. If extensive corrosion in outlet ports,
replace.
g. Examine pilot hood and igniter for corrosion,
scale, ceramic cracking. Replace if necessary.
h. Remove 3" (76 mm) diameter vent pipe at
condensate elbow or fan outlet.
i. Remove top jacket panel, flue collector/fan
assembly, and flue baffles.
j. Examine flueways and flue collector/fan for scale,
soot, and loose rust.
k. If necessary, brush flueways with wire brush and
remove scale and loose rust from flue baffles. If
corroded, replace baffles.
l. Reinstall flue baffles.
m. Examine flue collector blanket seal.
Reposition/replace as necessary to assure air tight
seal between flue collector and heat exchanger.
n. Reinstall flue collector/fan assembly.
o. Reinstall jacket top panel.
p. Reinstall pilot, burners, hitch pin clips. Reconnect
pilot harness to gas valve, gently pulling harness
to length required to reach gas valve.
q. Reinstall air box diffuser.
r. Examine air box cover seal. Reposition/replace as
necessary to assure air tight seal.
s. Reinstall air box cover.
t. Examine entire vent system for corrosion, support
and joint integrity. Repair as necessary. Remove
any debris inside vent.
u. Reconnect vent pipe to fan adapter. Reseal using
high-temp silicones as shown in Section 4,
Venting, Ventilation and Air Inlet.
v. Refer to Operating Instructions in Figure 7.3 to
properly return the boiler to operation.
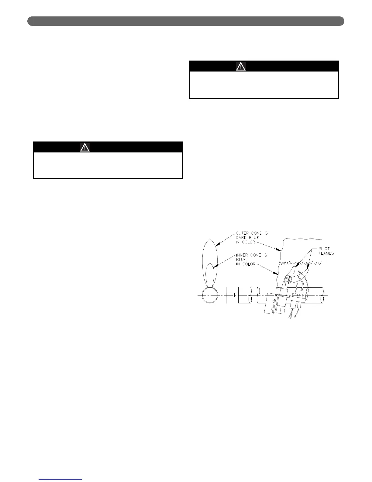
2. Check the pilot and main burner flame. See Figure
9.1. The pilot should provide a steady flame
enveloping 3/8" to 1/2" (1 cm to 1.2 cm) of the flame
sensor. If required, adjust the pilot as stated in the gas
valve manufacturer’s instructions. The main burner
flame inner cone should be approximately
1-1/2" (4 cm) high and should have a very sharp, blue
color characteristic.
MAINTENANCE
Figure 9.1: Intermittent Pilot and Main
Burner Flame
Leaks in the vent system will cause products of
combustion to enter structure (vent system operates
under positive pressure).
WARNING
Soot accumulation indicates boiler malfunction.
Cause of malfunction must be determined and
corrected before returning boiler to service.
WARNING

Related product manuals