EasyManua.ls Logo

PeerlessBoilers PBC-40 - Page 23

PeerlessBoilers PBC-40
65 pages
Print Icon
To Next Page IconTo Next Page
To Next Page IconTo Next Page
To Previous Page IconTo Previous Page
To Previous Page IconTo Previous Page
Loading...
21
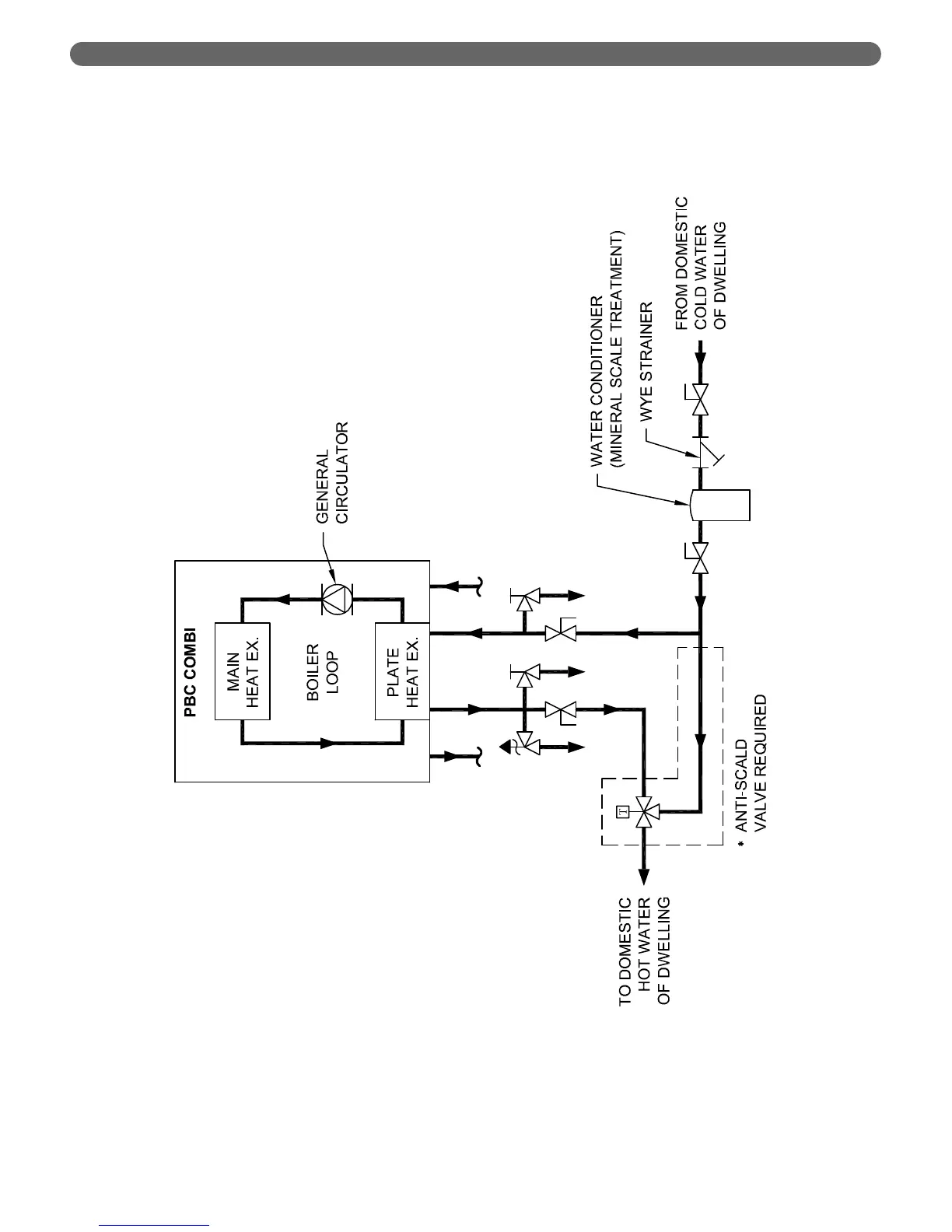
Figure 4.7: Recommended Domestic Hot Water Piping
WATER PIPING AND CONTROLS

Table of Contents

Related product manuals