EasyManua.ls Logo

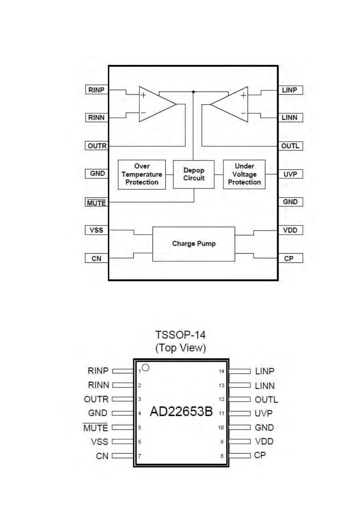
Philips 48OLED935/12 - 8.4 AD22653 B-QH14 NAR (IC U5201;U5101-Audio)

Philips 48OLED935/12
175 pages
Print Icon
To Next Page IconTo Next Page
To Next Page IconTo Next Page
To Previous Page IconTo Previous Page
To Previous Page IconTo Previous Page
Loading...
8.4 AD22653B-QH14NAR (IC U5201/U5101--Audio)

Related product manuals