EasyManua.ls Logo

Philips 65BDL6005X - Operating Instructions of Edge Alignment Kit; Installing the Edge Alignment Kit

Philips 65BDL6005X
55 pages
Print Icon
To Next Page IconTo Next Page
To Next Page IconTo Next Page
To Previous Page IconTo Previous Page
To Previous Page IconTo Previous Page
Loading...
65BDL6005X
18
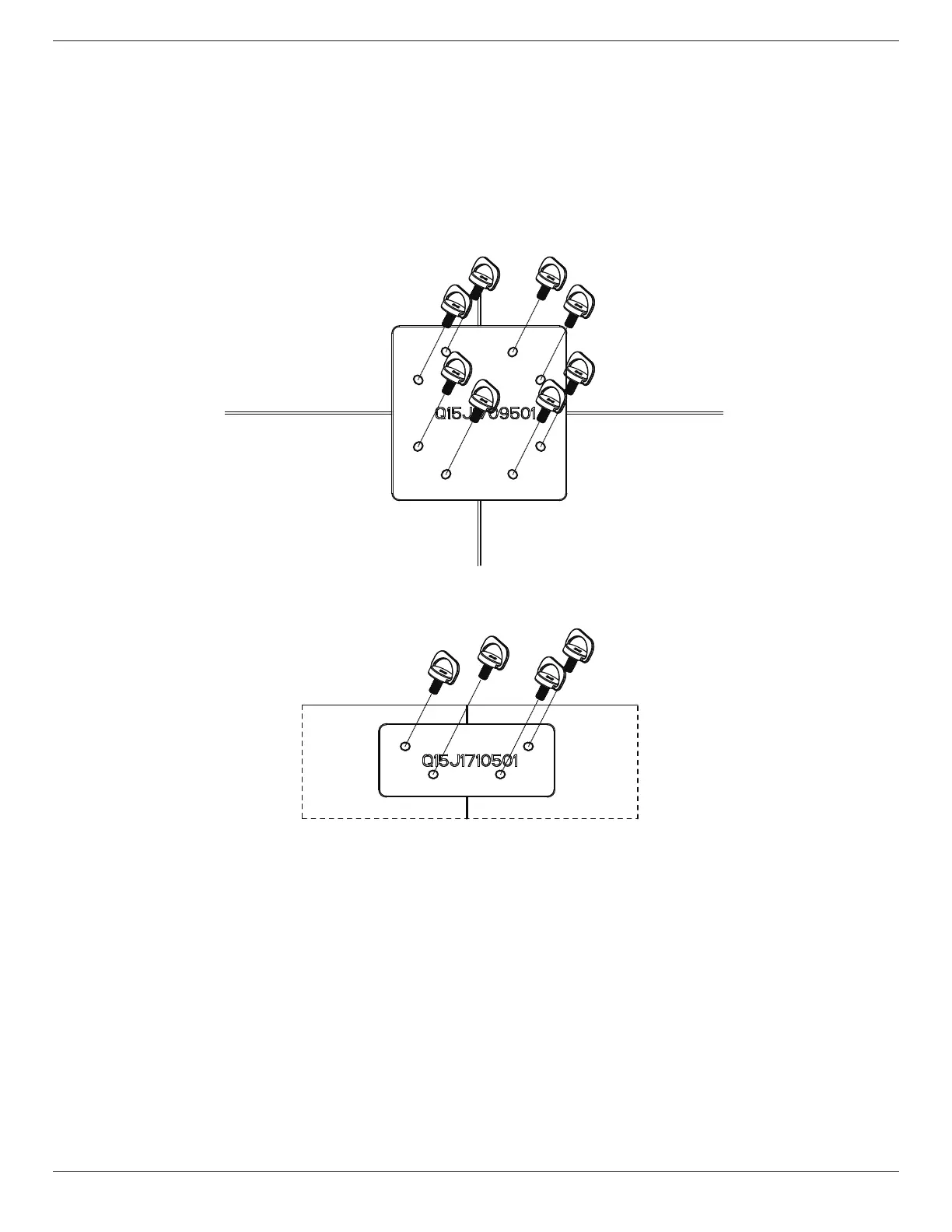
2.7. Operating Instructions of Edge Alignment Kit
2.7.1. Installing the Edge Alignment Kit
Before installing the edge alignment kit, the display must be mounted to the frame of video wall correctly.
We recommend you contact a professional technician when installing the edge alignment kit. We are not responsible for
any damage to the product if the installation is not performed by a professional technician.
Use the provided thumb screw for an easy installation of the edge alignment kit.
Use the “Edge Alignment Kit-1” for four adjacent displays.
Display 1
Display 3
Display 2
Display 4
Use the “Edge Alignment Kit-2” for two adjacent displays.
Display 1
Display 2
Note: When installing the edge alignment kit, please consult a professional technician for proper installation. We accept no
liability for installations not performed by a professional technician.

Table of Contents

Related product manuals