EasyManua.ls Logo

Philips BP2.2U - Page 115

Philips BP2.2U
151 pages
Print Icon
To Next Page IconTo Next Page
To Next Page IconTo Next Page
To Previous Page IconTo Previous Page
To Previous Page IconTo Previous Page
Loading...
Circuit Descriptions, Abbreviation List, and IC Data Sheets
EN 115BP2.2U, BP2.3U 9.
Contains manufacturer name, product name, type, etc.
(replaced by CEC).
MPEG Source:
Contains flags that permit optimized display of de-
compressed video.
Vendor unique info.
Content Protection: HDCP
HDCP (High-bandwidth Digital Content Protection) for
HDMI encrypts and protects video, audio, and other
auxiliary data.
If a source device is HDCP coded and is connected to a
HDTV display or projector via DVI/HDMI without the proper
HDCP decoding mechanism, the picture is relegated to
"snow" or in some cases, a very low (480p) resolution. In
order to see HDTV with HDCP compliance, both the source
and display devices must be equipped with DVI/HDMI
connections that can enable HDCP using "software key"
decoding.
HDCP requires that decoding takes place in the display
device (no external converters).
CEC Bus (Consumer Electronics Control)
This is the successor of the P50 protocol.
It allows the user to control all HDMI devices with the TV's
remote control and menus.
High-level functions such as “One-touch play”.
Optional for device to implement protocol.
Mandatory to implement wire pass-through.
9.4 Front-End
See description in paragraph “Introduction” -> “Chassis Block
Diagram”.
9.5 POD (Point Of Deployment)
9.5.1 Introduction
This chassis is provided with a special slot called
CableCARD™. This means that it is not necessary to have a
separate Set Top Box to receive digital cable SDTV and HDTV
programs (however this is still possible).
The CableCARD (or POD) is a removable card distributed by
cable companies, which is inserted into the slot at the bottom
of the television. It allows you to tune digital and high definition
scrambled or encrypted cable channels through the cable
antenna. The CableCARD is also required to receive premium
digital TV channels and services (where available) through the
cable. A CableCARD functionality includes conditional access
and copy protection.
9.5.2 Implementation
1. The receiver receives the digital data stream.
2. The data flows into the Conditional Access Module, which
contains the content provider's unscrambling algorithms.
3. This module verifies the existence of a smart card (POD)
that contains the subscriber's authorization code.
4. If the authorization code is accepted, the CAM
unscrambles the data and returns the data to the receiver
(if the code is not accepted, the data remains scrambled,
restricting access).
5. The receiver then decodes the data and outputs it for
viewing.
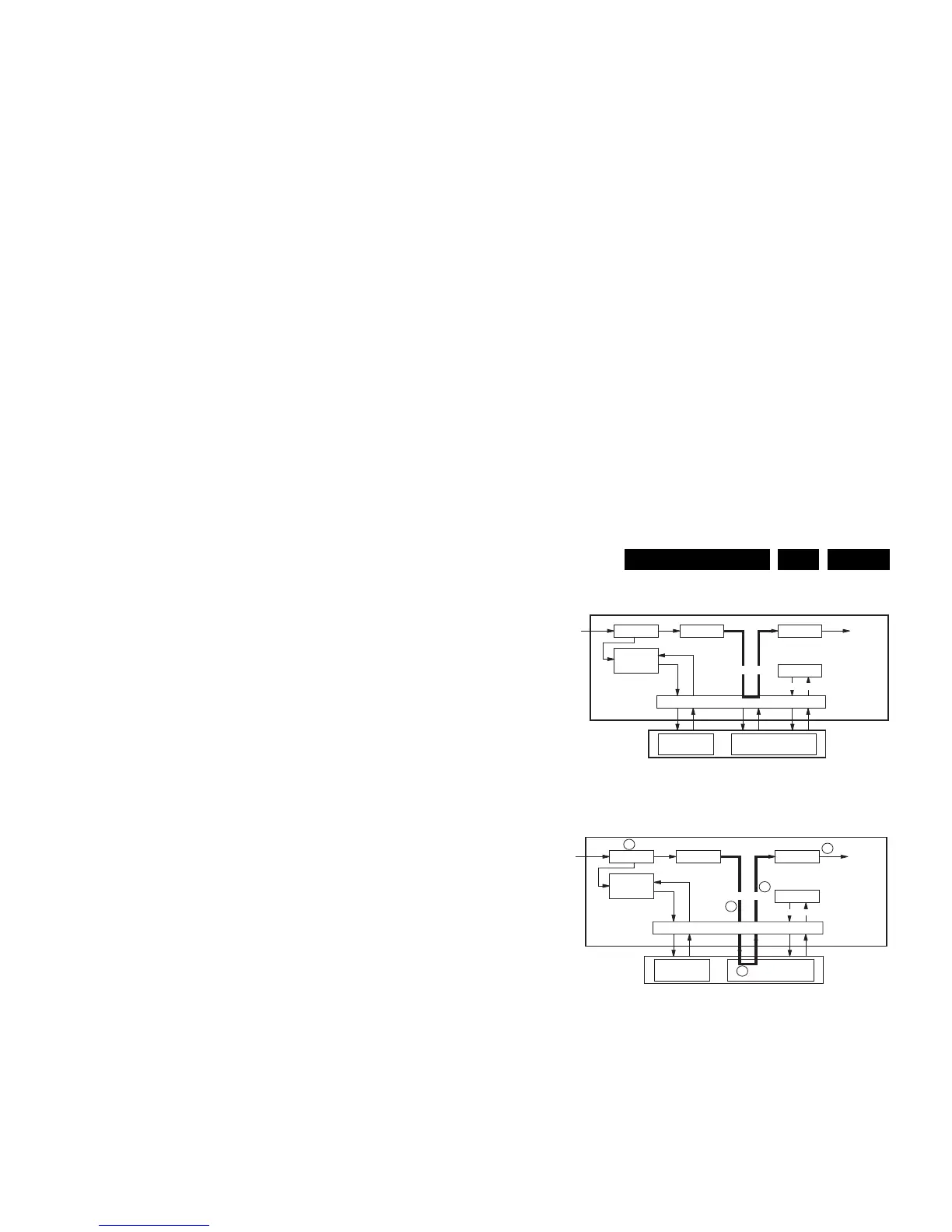
Figure 9-12 In Band channel reception (without POD inserted)
Figure 9-13 In Band channel reception (with POD inserted)
POD Working Principle
The POD is a removable CAM, implementing the CA system
for a Host (i.e. the TV set). The POD module is inserted into a
standard PCMCIA slot in the Host.
When the POD is inserted into the Host, it goes through an
initialization procedure, which is called the "POD personality
change". This initialization procedure consists of:
POD and Host verify each other’s identity by means of
certificate and/or key exchange.
Reporting POD-ID and Host-ID to the Cable Head end, in
order to entitle the POD for descrambling services. In case
of uni-directional operation (as for this chassis), this
reporting requires user-interaction.
Key generation for secure communication between POD
and Host.
After initialization, the POD is used to unscramble any
particular scrambled service in the In Band (IB) transport
stream. The host must provide the selection choice (which
program to descramble). The host can only do so if it gets
specific data like PSIP (Program and System Information
Protocol) data from the POD.
The POD implements a copy protection system, so the
unscrambled Transport Stream signal from POD to Host can
be re-scrambled.
Copy Protection (CP)
Every TV-set has its own unique Host-certificate (with
Host-ID). These certificates are stored on a dedicated PC
at the TV supplier.
The CP-key is refreshed at the following times:
At the end of the authentication process.
Periodically at a rate set by max_key_session_period.
At every power cycle.
When initiated by the CA System.
At every hard reset.
At power-up, the POD checks the Auth-key to see if the
host is still the same, after this the re-authentication
takes place.
During CP-refresh is the transport stream in the clear
(<1s)
POD Stand-by Mode
POD stack still alive:
TUNER
RF
7P03
STV0701
DEMOD
FRONT-END VIPER
OOB
PROCESSOR
CAS
PROCESSOR
POD MODULE
HOST-POD INTERFACE CONTROLLER CHIP
DEMUX
A/V
DECODER
CPU
QPSK
DEMOD
RX
QPSK
SYMBOLS
BYPASS
EMM
MESSAGES
MPEG
(SCRAMBLED)
MPEG
(DESCRAMBLED)
COMMANDS
F_15400_073.eps
130505
FAT
FDC
TUNER
RF
7P03
STV0701
DEMOD
FRONT-END VIPER
OOB
PROCESSOR
CAS
PROCESSOR
POD MODULE
DEMUX
A/V
DECODER
CPU
QPSK
DEMOD
QPSK
SYMBOLS
RX
BYPASS
EMM
MESSAGES
MPEG
(SCRAMBLED)
MPEG
(DESCRAMBLED)
COMMANDS
F_15400_074.eps
300505
HOST-POD INTERFACE CONTROLLER CHIP
FAT
FDC
1
2
4
3
5

Table of Contents

Related product manuals