EasyManua.ls Logo

Philips BP2.2U - Page 98

Philips BP2.2U
151 pages
Print Icon
To Next Page IconTo Next Page
To Next Page IconTo Next Page
To Previous Page IconTo Previous Page
To Previous Page IconTo Previous Page
Loading...
EN 98BP2.3U AA 7.
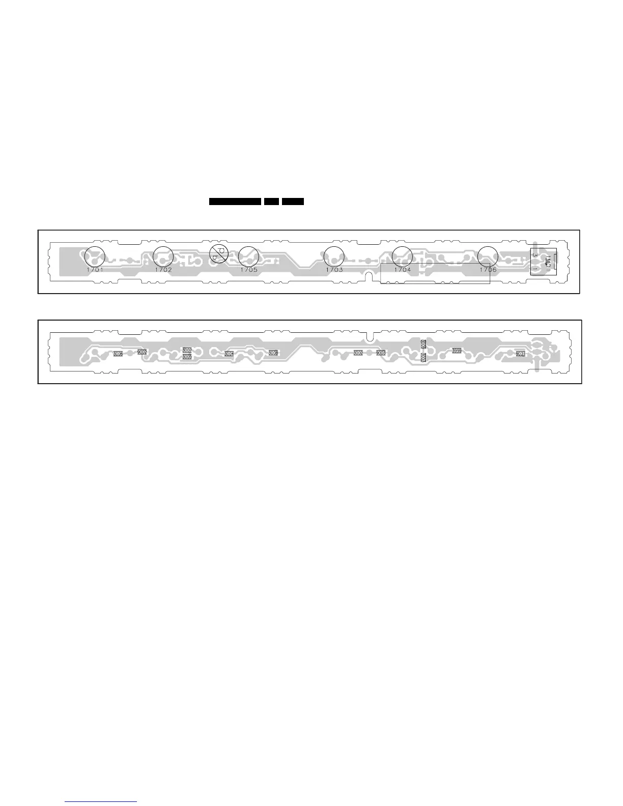
Circuit Diagrams and PWB Layouts
Layout Control Board (Top Side)
Layout Control Board (Bottom Side)
3104 313 6071.2
F_15400_068.eps
090505
1701 -- 1702 -- 1703 -- 1704 -- 1705 -- 1706 -- 1M01 --
3104 313 6071.2
F_15400_069.eps
090505
3002 -- 3003 -- 3004 -- 3005 -- 3006 -- 3007 -- 3008 -- 3009 -- 3999 -- 9001 -- 9002 -- 9003 --

Table of Contents

Related product manuals