EasyManua.ls Logo

Philips PL22.06 - Digital Signal Process Block Diagram

Philips PL22.06
60 pages
Print Icon
To Next Page IconTo Next Page
To Next Page IconTo Next Page
To Previous Page IconTo Previous Page
To Previous Page IconTo Previous Page
Loading...
9-3
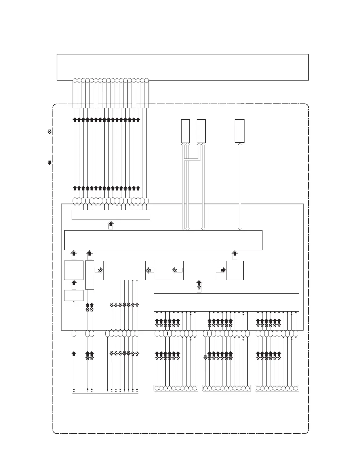
3. Digital Signal Process Block Diagram
DIGITAL MAIN CBA UNIT
IC3001 (DIGITAL SIGNAL PROCESS)
DIGITAL
SIGNAL
PROCESS
HDMI-IN3
HDMI-IN2
JK3701
DATA0(+)
ARC
ARC-OUT
DATA0(-)
DATA1(+)
DATA1(-)
DATA2(+)
DATA2(-)
HDMI-DATA
HDMI-CLOCK
7
14
9
4
6
1
3
10
12
16
15
7
9
4
6
1
3
10
12
16
15
JK3703
CLOCK(+)
CLOCK(-)
AUDIO
DECODER
HDMI
I/F
HDMI SW
TO VIDEO/AUDIO
BLOCK DIAGRAM
VIDEO
DECODER
VIDEO SIGNAL
AUDIO SIGNAL
DATA(0-7)
IC3102
(NAND FLASH MEMORY)
EMMC-DAT(0-7)
A/D
CONVERTER
SW
CVBS-VIDEO-IN
DEMODULATOR
/MPEG DECODER
AUDIO I/F
DIF-OUT2
DIF-OUT1
IF-AGC
IF-AGC
LVDS
TX
DDR3-DQ(0-15)
DDR3-DQ(16-31)
DDR3-A(0-15)
DATA
ADDESS
IC3402
(DDR3 SDRAM)
DATA
ADDESS
IC3401
(DDR3 SDRAM)
AUDIO(L)-OUT
AUDIO(R)-OUT
SPDIF
CVBS-AUDIO(L)-IN
CVBS-AUDIO(R)-IN
HP(L)
HP(R)
DATA0(+)
DATA0(-)
DATA1(+)
DATA1(-)
DATA2(+)
DATA2(-)
HDMI-DATA
HDMI-CLOCK
CLOCK(+)
CLOCK(-)
AC6
AF4
AF5
AF2
AF1
AG5
AG4
K6
AA4
J3
H2
K3
J2
K1
K2
H3
G2
P6
P5
T3
R2
U3
T2
V3
U2
R1
R3
U6
W6
AK4
AJ4
AJ2
HDMI-IN1
7
9
4
6
1
3
10
12
16
15
JK3702
DATA0(+)
DATA0(-)
DATA1(+)
DATA1(-)
DATA2(+)
DATA2(-)
HDMI-DATA
HDMI-CLOCK
CLOCK(+)
CLOCK(-)
W2
W1
V2
Y3
AA2
AA3
W3
V1
Y6
AA5
AA30
AB29
AA28
AG30
AD29
AC28
AC29
AA29
AE29
AE30
AE28
AG28
AG29
AJ25
AH25
AH30
AH29
AF29
CN3901
LCD PANEL
ASSEMBLY
24
23
21
20
18
17
15
14
12
11
9
8
6
5
3
2
26
27
RX0(+)
RX0(-)
RX1(+)
RX1(-)
RX2(-)
RX2(+)
RX3(-)
RX3(+)
RX4(-)
RX4(+)
RX5(-)
RX5(+)
RX6(-)
RX6(+)
RX7(-)
LOCKN
RX7(+)
HTPDN
PL22.06BLD

Related product manuals