EasyManua.ls Logo

Phonic Sonic Station 22 - Page 19

Phonic Sonic Station 22
40 pages
Print Icon
To Next Page IconTo Next Page
To Next Page IconTo Next Page
To Previous Page IconTo Previous Page
To Previous Page IconTo Previous Page
Loading...
19SONIC STATION 22 / SONIC STATION 32
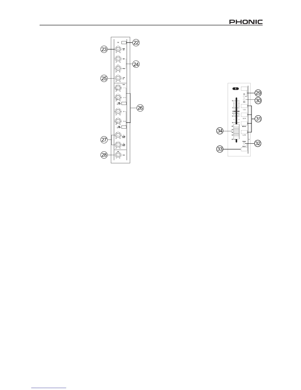
22. Filtro de Corte Bajo (75 Hz)
Este botón, localizado en
todos los canales, activará
un filtro de paso alto, que
reducirá todas las frecuencias
por debajo de los 75 Hz a
18 dB por Octava, ayudando
así a remover ruido de piso
no deseado o vibraciones
del escenario.
23. Control de Frecuencias
Agudas
Este control se utiliza para
proveer de un estilo pico
de realce o recorte de ±15
a los sonidos de frecuencia
alta (12 kHz). Esto ajustara
la acumulación de agudos
incluidos en el audio del canal,
agregando fortaleza y claridad
a las señales como guitarras,
metales y sintetizadores.
24. Control de Frecuencias
Medias
Este control se utiliza para
proveer de un estilo pico
de realce y recorte al nivel
de frecuencias medias de
sonido en un rango de ±15. Esta mixer también provee
de un control de barrido, permitiéndote seleccionar
la frecuencia central entre 100Hz y 8kHz. Cambiar las
frecuencias medias de la alimentación del audio puede
ser un tanto difícil cuando se utiliza en una mixer de audio
profesional, mientras que es deseable cortar los sonidos
de frecuencias medias más que realzarlas, por que
harían un sonido estridente en las vocales y en el audio.
Los canales estéreo (19/20 y 21/22 en la Sonic Station 22,
29/30 y 31/32 en la Sonic Station 32) dieren ligeramente,
en que tienen un solo control para ajustar las Frecuencias
Medias, con una frecuencia ja a 2.5 kHz.
25. Control de Frecuencias Graves
Este control se utiliza para dar un realce tipo Shelving o un
recorte de ±15dB a los sonidos (80Hz) de frecuencias bajas.
Esto ajustara la cantidad de bajos incluidos en el audio del
canal y ofrecerá más calidez y punch a las baterías y a los
bajos.
26. Controles AUX
Estos cuatro controles AUX alteran el nivel de señal que
es enviado al bus de mezcla auxiliar 1 a 4, cuya señal
es adecuada para conectar monitores de escenario,
permitiendo a los artistas escuchar la sica que esn
tocando o para alimentar un procesador de efecto externo.
AUX 1/2 y AUX 3/4 incluyen un botón Pre/Post que altera la
alimentación del bus de mezcla AUX entre una alimentación
pre fader y post fader
27. Controles de EFX 1 y 2 / AUX 5 y 6
Estos dos controles actúan como un envío de EFX para los
dos procesadores de efectos internos. Estos permiten a los
usuarios ajustar la señal post fader del canal de entrada
correspondiente para ser enviada a los buses de mezcla
de EFX 1 y 2. La señal también es enviada a los buses de
mezcla AUX 5 y 6, permitiendo a la señal ser sacada vía los
envíos AUX 5 y 6.
28. Controles de Paneo/Balance
Esto altera el grado o nivel de audio izquierdo y derecho que
la mezcla principal debería de recibir. En los canales Mono,
el control de paneo (PAN) ajustara los niveles que deberán
recibir los canales izquierdo y derecho que deberían de
recibir, mientras que en un canal estéreo, ajustar el control
de Balance (BAL) atenuara las señales de audio izquierdas
o derechas respectivamente.
29. Botón de Encendido con
indicador
Este enciende el canal
permitiendo al usuario utilizar
la alimentación desde las
entradas del canal, para
aplicarla en los buses MAIN
L/R, MONO, GRUPO 1/2,
GRUPO 3/4, AUX y EFX. El
indicador correspondiente
se iluminara cuando este
activado (on).
30. Indicador de Señal
Este indicador LED muestra
cuando el nivel de entrada
(post EQ) alcanza -20 dBu,
básicamente, mostrando
cuando la sal es recibida
por el canal correspondiente.
31. Botones 1-2, 3-4, Mono y L-R
Estos útiles botones te permitirán decidir la trayectoria del
audio que corresponda al canal. Presionando los botones
“1/2” o “3/4” permitirá que la señal sea enviada a la mezcla
Grupo 1/2 o 3/4, mientras que el botón “monoo L-Rte
permitirá enviarlo a la mezcla principal L/R o mono.
32. Indicador de Pico
Este LED indicador se iluminara cuando el canal rebase los
6dB antes de que ocurra la sobrecarga. Es mejor ajustar el
control de nivel de canal para permitir que el indicador de
PICO se ilumine en intervalos regulares. Esto asegurara que
se tenga un mayor rango dinámico del audio. Este indicador
también funciona como indicador de SOLO, cuando el botón
de Solo sea activado.
33. Indicador de Pico y botón de Solo
Cuando el selector de SOLO es activado la señal del canal
correspondiente es enviada al control de CR/Phones (Pre
o Post fader dependiendo de las propiedades del botón
pre/post seleccionado, localizado debajo de control de nivel
de solo), para utilizarse con aufonos o para escucharlo
en los monitores de estudio. Este bon tambn permite
un aislamiento más fácil de las señales de canal individual,
asegurándose que el ajuste de ganancia de entrada o
seguimiento del audio de los ingenieros de sonido es
hecho más simple. El indicador sobre el bon a solo se
ilumina siempre que se active el botón solo, no obstante,
también funciona como indicador de pico, iluminando
cuando la señal alcanza picos altos.
34. Control de Nivel de Canal (Fader)
Este fader de 60 mm alterara el nivel de la señal que será
enviada desde el canal correspondiente a los destinos
apropiados, como se decida con los botones 1-2, 3-4, Mono
y L-R.

Related product manuals