EasyManua.ls Logo

Pioneer PDP-506PU

Pioneer PDP-506PU
96 pages
To Next Page IconTo Next Page
To Next Page IconTo Next Page
To Previous Page IconTo Previous Page
To Previous Page IconTo Previous Page
Loading...
PDP-506PE
85
5678
56
7
8
C
D
F
A
B
E
7.2 IC
• The information shown in the list is basic information and may not correspond exactly to that shown in the schematic diagrams.
List of IC
AN16025A, TC7SH08FUS1, TC74VHC00FTS1, AXF1140, AXF1142, TC74VHC08FTS1, AXF1141, M62334FP,
TC74VHC123AFTS1, PST3610UR, PEG122C, NJW1183L
AN16025A (50 SCAN A ASSY : IC2701 - IC2706)
(50 SCAN B ASSY : IC2801 - IC2806)
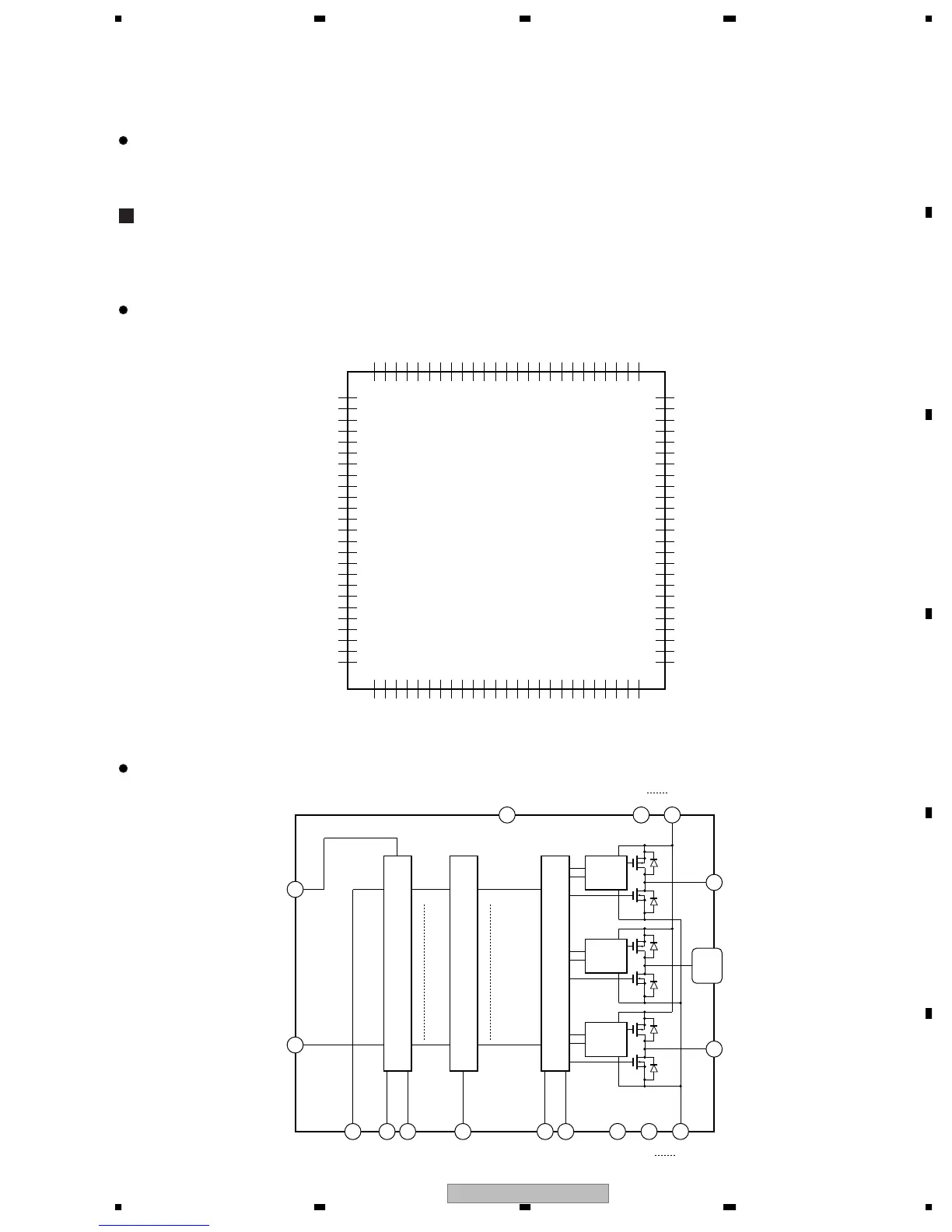
• Plasma Display Panel IC
Pin Arrangement (Top view)
Block Diagram
1OUT3
2OUT4
3OUT5
4OUT6
5OUT7
6OUT8
7OUT9
8OUT10
9OUT11
10OUT12
11OUT13
12OUT14
13OUT15
14OUT16
15OUT17
16OUT18
17OUT19
18OUT20
19OUT21
20OUT22
21OUT23
22OUT24
23OUT25
24OUT26
25OUT27
OUT6275
OUT6174
OUT6073
OUT5972
OUT5871
OUT5770
OUT5669
OUT5568
OUT5467
OUT5366
OUT5265
OUT5164
OUT5063
OUT4962
OUT4861
OUT4760
OUT4659
OUT4558
OUT4457
OUT4356
OUT4255
OUT4154
OUT4053
OUT3952
OUT3851
OUT2100
OUT199
N.C.98
VDDH97
VDDH96
N.C.95
GND194
GND193
CLR92
SI91
OC290
OC189
VDD88
LAT87
CLK86
SO85
DIR84
GND183
GND182
N.C.81
VDDH80
VDDH79
N.C.78
OUT6477
OUT6376
26OUT28
27OUT29
28OUT30
29OUT31
30OUT32
31N.C.
32VDDH
33VDDH
34N.C.
35GND1
36GND1
37GND1
38N.C.
39GND2
40GND1
41GND1
42N.C.
43VDDH
44VDDH
45N.C.
46OUT33
47OUT34
48OUT35
49OUT36
50OUT37
85
SO
91
SI
99
88
1-30,
46-76,
100
77
9089
OUT1
GND1
GND1
GND2
OC2
V
DD
OC1
V
DDH
VDDH
OUT2 - OUT63
OUT64
Output Control Circuit
64-bit Latch
Level
Shift
Circuit
DK
Data
Data
DA
Level
Shift
Circuit
DK
DA
Level
Shift
Circuit
DK
DA
9284
CLR
DIR
86
CLK
87
LAT
64-bit Shift Register

Related product manuals