EasyManua.ls Logo

Potterton Titanium - Page 25

Potterton Titanium
64 pages
Print Icon
To Next Page IconTo Next Page
To Next Page IconTo Next Page
To Previous Page IconTo Previous Page
To Previous Page IconTo Previous Page
Loading...
25
© Baxi Heating UK Ltd 2012
8.0 Flue Options
Fig. 19
Fig. 21
100mm
685mm
Push Fit Adaptor
Air Duct
Flue Duct
Cut the same
amount off the
Air Duct &
Flue Duct
Approx
1425mm
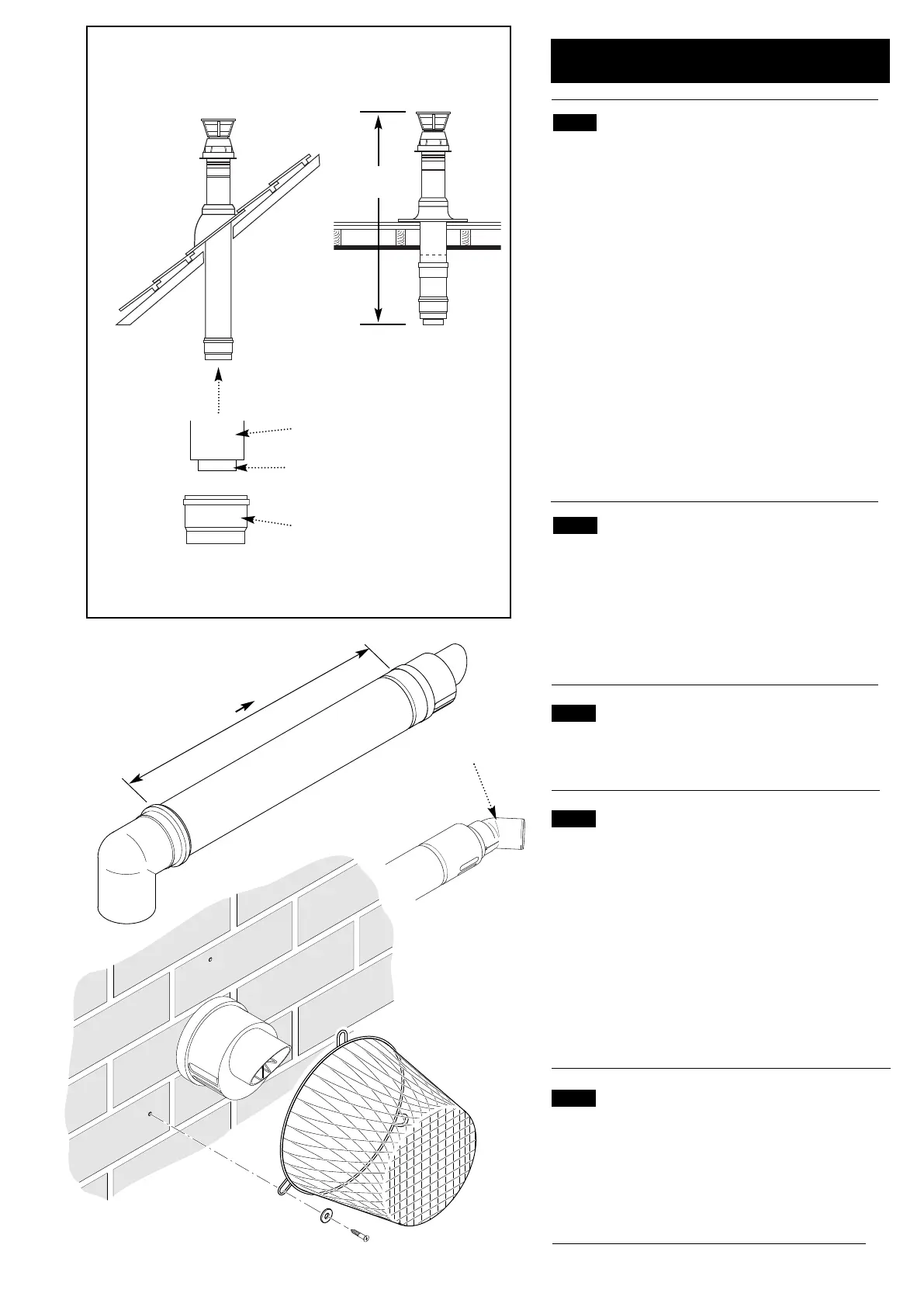
8.6 For Roof Terminals
1. In the case of a pitched roof 25 - 50 degrees, position the lead
tile to replace/flash over existing roof tiling. Make an aperture in
the roof suitable for the lower tube of the roof terminal and
ensure the integrity of the roof cover is maintained. The
adjustable plastic collar can either be positioned on the lead tile
or the lower tube of the roof terminal prior to the final
positioning of the vertical flue through the tile. Check the collar is
correctly located to suit required roof pitch (either 25° to 38° or
37° to 50°). From inside the roof adjust the flue to a vertical
position and secure to the roof structure with the clamp supplied.
2. For flat roof installations the aluminium flashing must be
incorporated into the roof covering and the appropriate aperture
made in the roof decking. The vertical flue is lowered onto the
flashing making sure the collar of the flue locates securely with
the flashing. (A mastic seal may be necessary). From inside the
roof, adjust the flue to a vertical position and secure to the roof
structure with the clamp supplied.
8.7 Flue Dimensions
The standard horizontal flue kit allows for flue lengths between
100mm and 685mm from elbow to terminal (Fig. 19).
The maximum permissible equivalent flue length is:
10 metres (60/100 system)
20 metres (80/125 system)
8.8 Flue Trim
1. The rubber flue trim supplied may be fitted to either the
outside wall or on the inner wall of installation.
8.9 Terminal Guard (Fig. 21)
1. When codes of practice dictate the use of terminal guards,
they can be obtained from most Plumbers’ and Builders’
Merchants.
2. There must be a clearance of at least 50mm between any part
of the terminal and the guard.
3. When ordering a terminal guard, quote the appliance name
and model number.
4. The flue terminal guard should be positioned centrally over the
terminal and fixed as illustrated.
8.10 Flue Deflector (Fig. 20)
1. If required a flue deflector is available from your Potterton
stockist.
2. Push the flue deflector over the terminal end and rotate to the
optimum angle for deflecting plume. Secure the deflector to the
terminal with screws provided.
Flue Deflector
Fig. 20

Related product manuals