EasyManua.ls Logo

ProForm 680 LT - EXPLODED DRAWING A

ProForm 680 LT
32 pages
Print Icon
To Next Page IconTo Next Page
To Next Page IconTo Next Page
To Previous Page IconTo Previous Page
To Previous Page IconTo Previous Page
Loading...
3
8
51
50
16
16
98
17
17
19
19
29
28
29
28
57
59
23
23
27
27
43
43
25
25
25
44
25
25
25
25
25
38
37
32
32
32
48
44
45
32
40
41
39
42
47
52
38
61
40
53
54
54
45
56
58
36
35
34
34
14
49
14
55
16
16
11
46
98
28
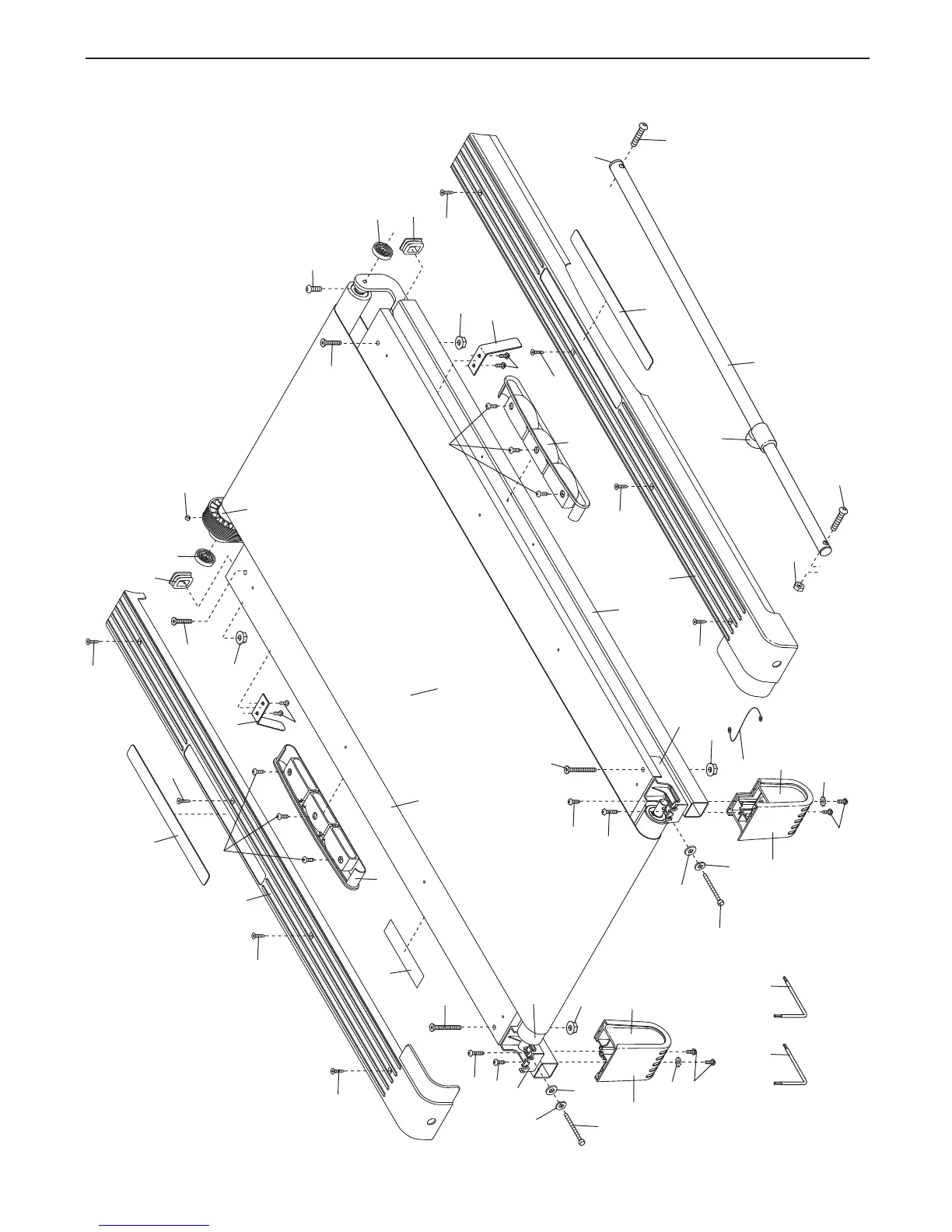
EXPLODED DRAWING A—Model No. PFTL96008.0 R1209A

Related product manuals