EasyManua.ls Logo

ProForm XP TRAINER 580 - Exploded Drawings

ProForm XP TRAINER 580
32 pages
Print Icon
To Next Page IconTo Next Page
To Next Page IconTo Next Page
To Previous Page IconTo Previous Page
To Previous Page IconTo Previous Page
Loading...
7
49
48
11
17
18
18
19
19
21
21
30
29
30
29
54
25
25
28
28
41
41
26
26
26
42
26
26
26
26
26
35
36
32
32
32
44
45
42
43
32
38
39
37
40
44
46
50
35
55
38
51
56
56
43
52
58
57
108
47
53
17
17
17
17
8
108
28
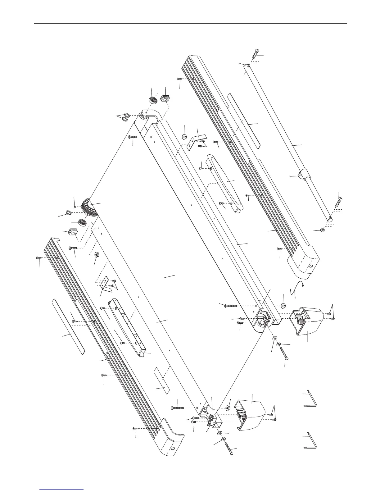
EXPLODED DRAWING A—Model No. 831.24855.1 R0908A

Related product manuals