EasyManua.ls Logo

Proline PCI300G-E - Fonctions Et Capacites Diverses; Réglage du Thermostat

Proline PCI300G-E
64 pages
Print Icon
To Next Page IconTo Next Page
To Next Page IconTo Next Page
To Previous Page IconTo Previous Page
To Previous Page IconTo Previous Page
Loading...
FR - 25 -
PARTIE- 2. FONCTIONS ET CAPACITES DIVERSES
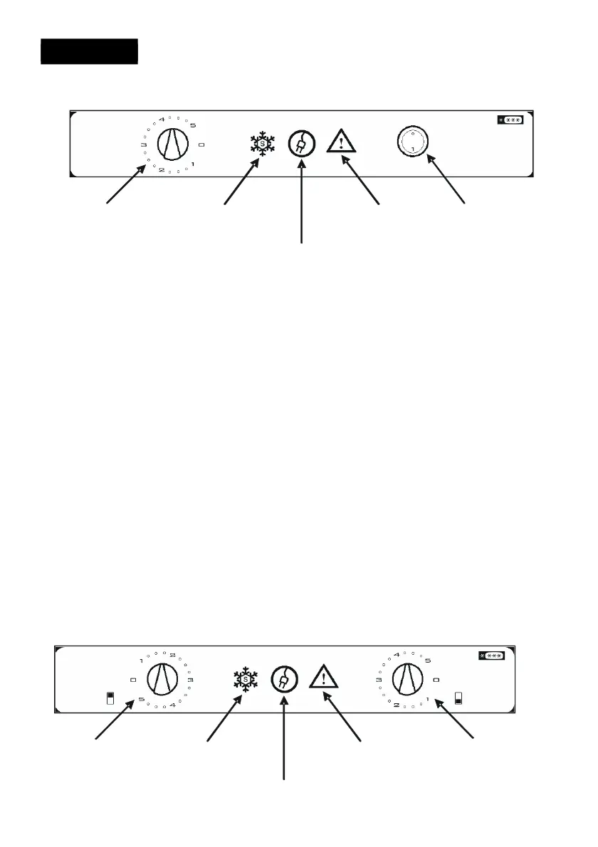
Réglage du thermostat
Moles combinés à compresseur unique
Les thermostats de congélateur et de réfrirateur régulent automatiquement la
température des compartiments. En tournant le bouton de la position 1 à 5, on peut obtenir
des temratures plus froides. La position « 0 » indique que le thermostat est fermé et
quaucune réfrigération nest disponible.
Réglage du thermostat du conlateur :
0 : Lappareil est arrêté.
1-2: Pour une conservation à court terme daliments dans le compartiment
congélateur, vous pouvez régler le bouton entre la position minimum et
moyenne.
3-4: Pour une conservation à long terme daliments dans le compartiment
congélateur, vous pouvez régler le bouton à la position moyenne.
5 : Pour congeler des aliments frais, lappareil devra fonctionner à des
températures plus froides.
Congélation avec le bouton de supercongélation (bouton SF): Appuyez sur le bouton
SF, le congélateur se mettra en marche en continu en fonctionnement maximum (vérifiez
que le voyant SF sallume à lorange lorsque vous appuyez sur le bouton SF). La
température de conlation diminuera et lappareil passera à la temrature la plus
basse.
Placez les aliments à congeler rapidement à lintérieur du congélateur, de préférence
dans les tiroirs supérieurs. Une fois les aliments congelés, vous devez arrêter le bouton
SF et régler le bouton de thermostat dans la position sirée.
Bouton de thermostat
Alarme
Alimentation
Supercongélation
Bouton de
Supercongélation
Moles combinés avec compresseur double
Commande de
Réfrigérateur
Supercongélation
Alimentation
AlarmeCommande du
congélateur
PDF created with pdfFactory Pro trial version www.pdffactory.com

Table of Contents

Related product manuals