EasyManua.ls Logo

PROSOURCEFIT MULTI-GRIP LITE - ASSEMBLY DIAGRAM; PARTS

PROSOURCEFIT MULTI-GRIP LITE
12 pages
Print Icon
To Next Page IconTo Next Page
To Next Page IconTo Next Page
To Previous Page IconTo Previous Page
To Previous Page IconTo Previous Page
Loading...
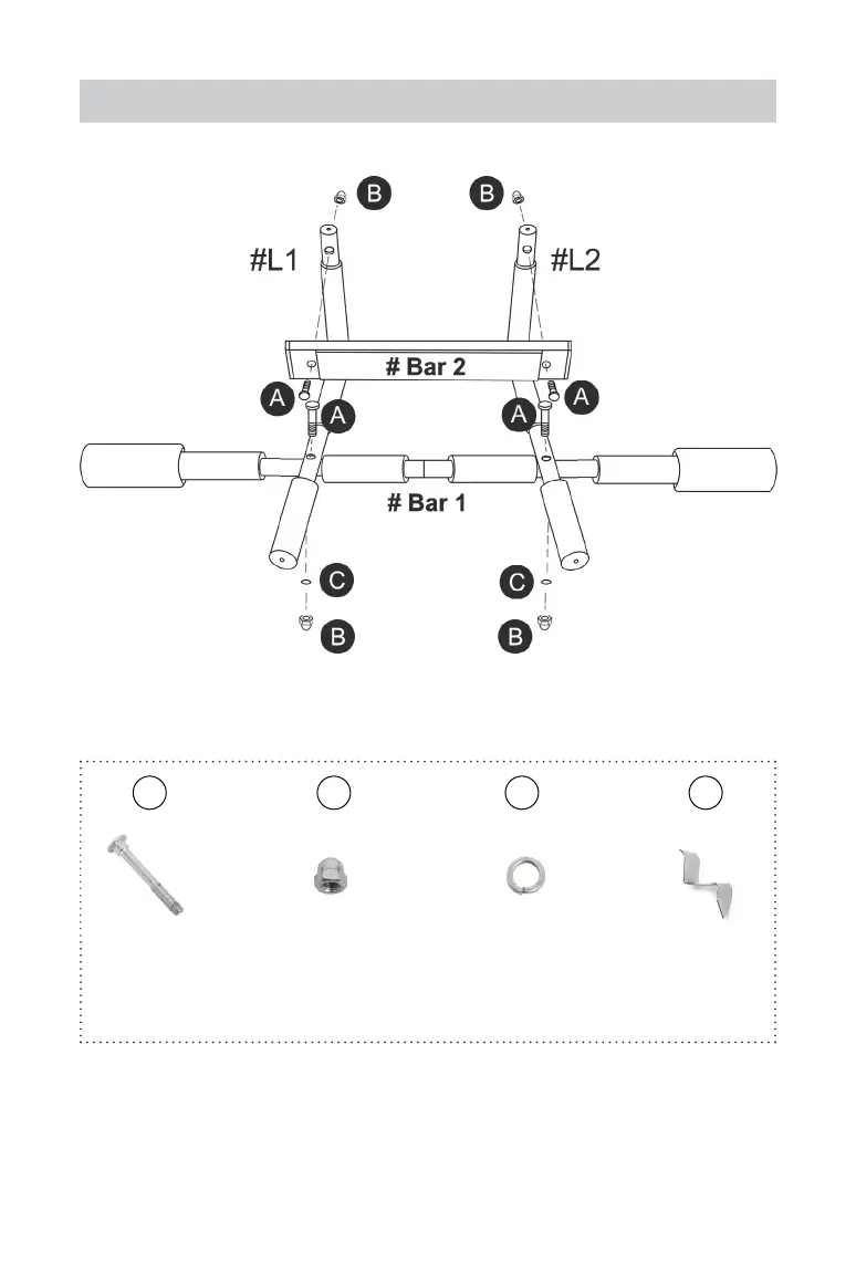
ASSEMBLY DIAGRAM
Metal
Nut
x 4 pieces
Metal
Screw
x 4 pieces
A B C D
Spring
Washer
x 2 pieces
Z
Bracket
1 piece
PARTS

Related product manuals