EasyManua.ls Logo

Prunus J-301 - Page 16

Default Icon
24 pages
Print Icon
To Next Page IconTo Next Page
To Next Page IconTo Next Page
To Previous Page IconTo Previous Page
To Previous Page IconTo Previous Page
Loading...
16
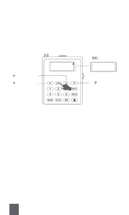
3) How to Save the Channel Manually on DAB?
A. Save with Button “P”
Step1 : Long press <⑪P> to saving mode.
Step2 : Press <⑧Previous/Rewind> or <⑩Next/Fast-forward> to select
the serial number you want to number the channel as.
Step3 : Press <⑨OK> to confirm. Then the screen will show the chan-
nel has been stored successfully.
Preset Store
<4: 174.928MHz >
< : Short press P : Long press
⑨ OK :
Short press
>
: Short press
Preset 4
Stored
Step1.
Step2.
Step3.

Related product manuals