EasyManua.ls Logo

PTW NORMI 13 - Figure 5: Bucky Mounting Device T20005

Default Icon
43 pages
Print Icon
To Next Page IconTo Next Page
To Next Page IconTo Next Page
To Previous Page IconTo Previous Page
To Previous Page IconTo Previous Page
Loading...
NORMI 13 (T42023)
Operating Manual - Accessories
D703.131.00/03 en 27
3
2
1
4
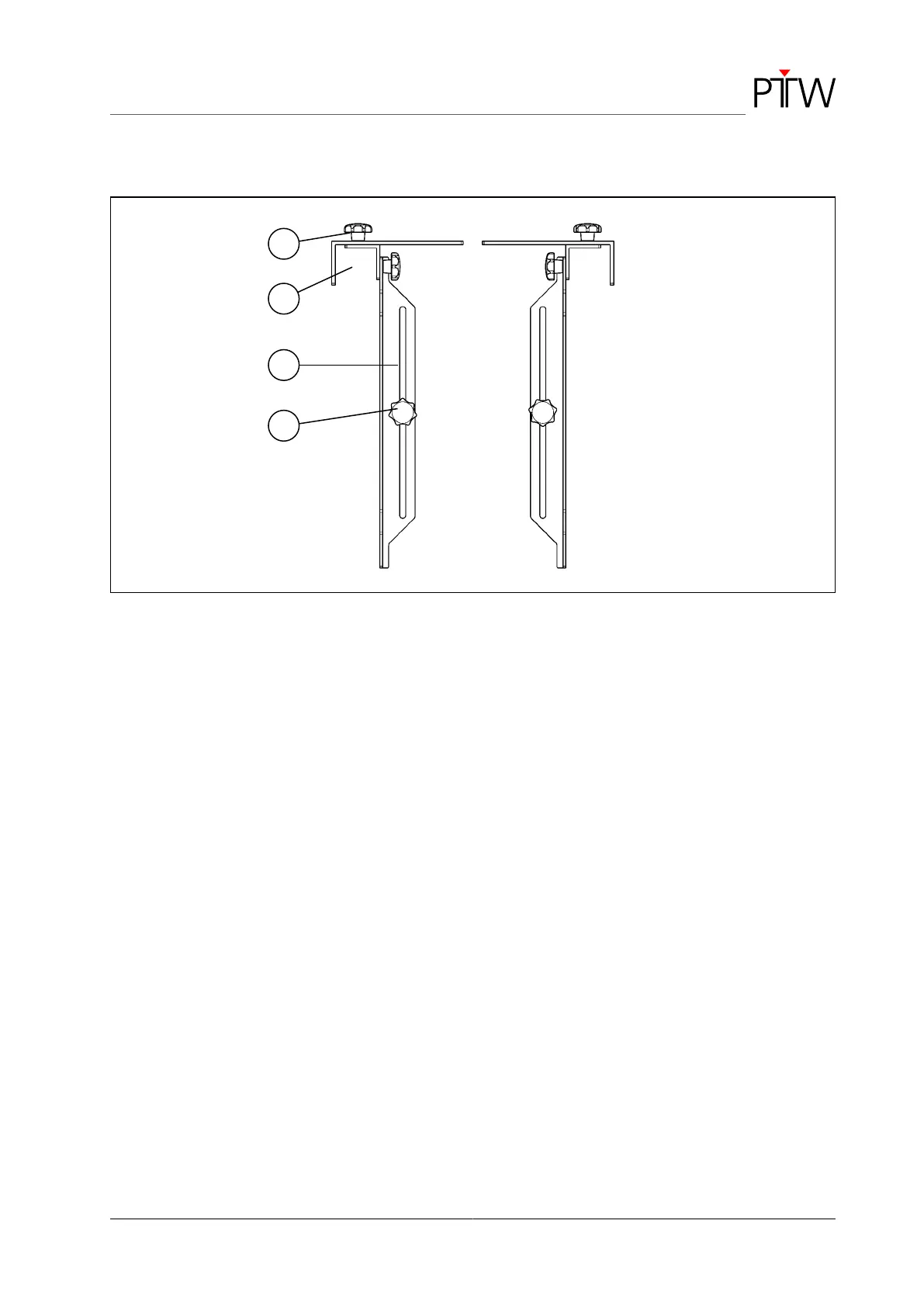
Figure 5: Bucky mounting device T20005
1
Star knob bolt for adjusting the angle bracket
to the thickness of the wall bucky
2
Adjustment range for thickness of the wall
bucky
3
Adjustment range for position of the test
object
4
Star knob bolt for fixing the PMMA absorber
or the wall stand holder T20018