EasyManua.ls Logo

Quickie 2, 2HD - G.pneumatic Tires; H.positioning Belts Option; Push Handles Option; Quick-Release Axles

Quickie 2, 2HD
84 pages
Print Icon
To Next Page IconTo Next Page
To Next Page IconTo Next Page
To Previous Page IconTo Previous Page
To Previous Page IconTo Previous Page
Loading...
MK-100070 RevA
12
ENGLIS H
VII. WARNINGS: COMPONENTS AND OPTIONS
G. PNEUMATIC TIRES
WARNING
Proper inflation extends the life of your tires and makes your chair easier
to use.
1. Do not use this chair if any of the tires are under- or over-inflated.
Check weekly for proper inflation level, as listed on the tire sidewall.
2. Low pressure in a rear tire may cause the wheel lock on that side to
slip and allow the wheel to turn when you do not expect it.
3. Low pressure in any of the tires may cause the chair to veer to one
side and result in a loss of control.
4. Over-inflated tires may burst.
If you fail to heed these warnings damage to your chair, a fall, tip-over or
loss of control may occur and cause severe injury to the rider or others.
H. POSITIONING BELTS (OPTIONAL)
WARNING
Use positioning belts ONLY to help support the rider’s posture. Improper
use of these belts may cause severe injury to or death to the rider.
1. Make sure the rider does not slide down in the wheelchair seat. If
this occurs, the rider may suffer chest compression or suffocate due
to pressure from the belts.
2. The belts must be snug, but must not be so tight that they interfere
with breathing. You should be able to slide your open hand, flat,
between the belt and the rider.
3. A pelvic wedge or a similar device can help keep the rider from slid-
ing down in the seat. Consult with the rider’s doctor, nurse or ther-
apist to find out if the rider needs such a device.
4. Use positioning belts only with a rider who can cooperate. Make
sure the rider can easily remove the belts in an emergency.
5. NEVER Use Positioning Belts:
a. As a patient restraint. A restraint requires a doctor’s order.
b. On a rider who is comatose or agitated.
c. As a motor vehicle restraint. In an accident or sudden stop the
rider may be thrown from the chair. Wheelchair seat belts will
not prevent this, and further injury may result from the belts or
straps.
If you fail to heed these warnings damage to your chair, a fall, tip-over or
loss of control may occur and cause severe injury to the rider or others.
I. PUSH HANDLES (OPTIONAL)
WARNING
When you have an attendant, make sure that this chair has push handles.
1. Push handles provide secure points for an attendant to hold the
rear of this chair, to prevent a fall or tip-over.
2. Check to make sure push handle grips will not rotate or slip off.
If you fail to heed these warnings damage to your chair, a fall, tip-over or
loss of control may occur and cause severe injury to the rider or others.
J. QUICK-RELEASE AXLES
WARNING
1. Do not use this chair UNLESS you are sure that both quick-release
rear axles are locked.
2. An axle is not locked until the quick-release button pops out fully.
3. An unlocked axle may come off during use, resulting in a fall, tip-
over or loss of control and cause severe injury to the rider or oth-
ers.
Quick-Release Axles should be periodically cleaned and inspected
for function and signs of wear or bending. Replace as necessary.
If you fail to heed these warnings damage to your chair, a fall, tip-over or
loss of control may occur and cause severe injury to the rider or others.
K. REAR WHEELS
WARNING
A change in set-up of the rear wheels will affect the center of balance of
your chair.
1. The farther you move the rear axles FORWARD, the more likely it
is that your chair will tip over backward.
2. Consult your healthcare advisor to find the best rear axle set-up for
your chair. Do not change the set-up UNLESS you consult your health-
care advisor first.
3. Adjust the rear wheel locks after you make any change to the rear
axles.
a. If you fail to do so, the wheel locks may not work.
b. Make sure lock arms embed in the tires at least 1/8 inch when
locked.
If you fail to heed these warnings damage to your chair, a fall, tip-over or
loss of control may occur and cause severe injury to the rider or others.
11
A
11
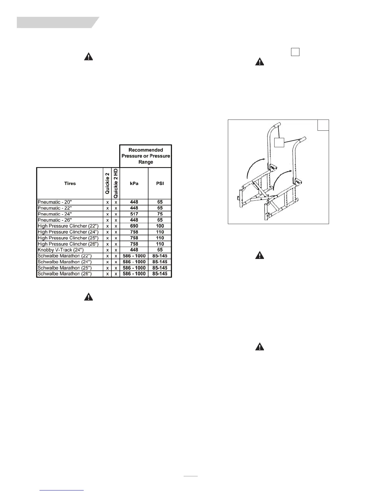
Recommended Tire Pressures

Table of Contents

Related product manuals