EasyManua.ls Logo

Ravelli Flexi 7 - Main Parts; Automatic Cleaning System

Ravelli Flexi 7
60 pages
Print Icon
To Next Page IconTo Next Page
To Next Page IconTo Next Page
To Previous Page IconTo Previous Page
To Previous Page IconTo Previous Page
Loading...
Use and maintenance manual Flexi 7 - Flexi 9
Pag.23
Rev.0 18/05/2020
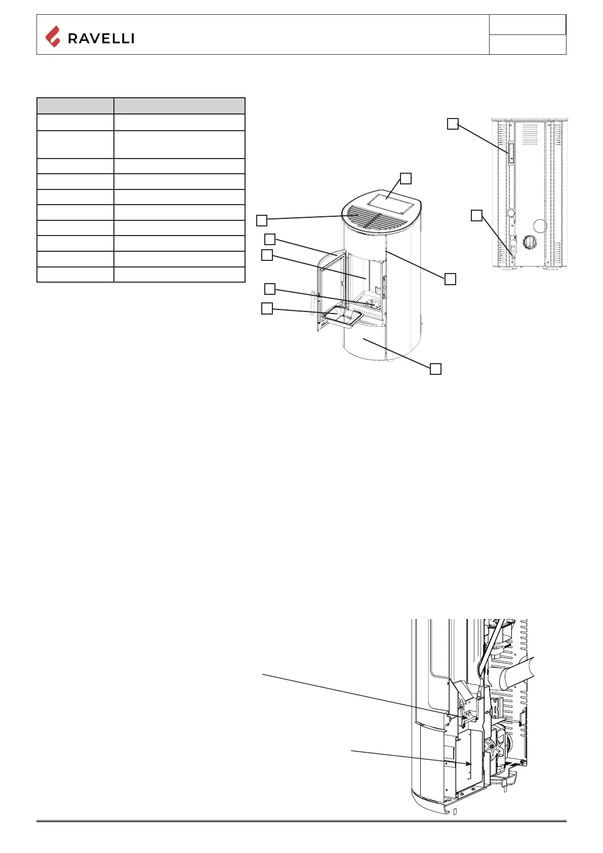
Main parts
element
A Grid for air passage
B Combustion chamber
door
C Ashes drawer
D Pellet cover
E Control panel
F Combustion chamber
G Grid for ashes
H Slide for ashes
I
Reset thermostat
L
Air passage gap
Description of operation
Ravelli pellet stoves of the Flexi 7 and Flexi 9 family are home heating appliances powered by wood pellets with automatic loading. They
are suitable for use as a secondary heating system or as a support for the main heating system.
The heat generated by pellet combustion is diffused in the installation room by radiation and natural convection. It is possible to choose
whether to activate the front fan or keep the stove in operation by natural convection. In addition, Flexi 9 versions it is possible to activate
the ducting to heat another room.
The stove is controlled by an electronic control unit that manages the start-up, operation and shutdown phases and also includes many
other functions for control, programming and safety.
The user can choose the operating power from 5 levels, or set the temperature to be maintained in the room. In this case the stove will
manage the power to ensure maximum comfort. Among the functions of the electronic control unit there is also that of being able to
program the start-up and shutdown of the stove, setting the weekly chronothermostat.
All this can be done comfortably from the sofa using the handheld remote control.
Ravelli’s patented cleaning system minimises maintenance by the user. There is no longer any need to clean the brazier before each
lighting and all maintenance operations.
This stove has been designed for hermetic installations, so it can be installed in the traditional way, or by taking air directly from outside.
Automatic cleaning system
The stove is equipped with atuomatic brazier cleaning system. This means that there is no need to carry out daily manual cleaning of the
brazier or every time the stove is lit. The automatic cleaning system is activated every time the stove is lit and after 6 hours of continuous
operation. The cleaning cycle, which involves shutting down, automatic cleaning and restarting the stove, takes about 10 minutes. During
this period the heating is guaranteed by the heat accumulated by the appliance itself.
Note: the times indicated are those set by default by the Manufacturer.
C
A
A A
B B
C C
D D
E E
F F
G G
H H
J J
K K
L L
M M
N N
P P
R R
T T
24
24
23
23
22
22
21
21
20
20
19
19
18
18
17
17
16
16
15
15
14
14
13
13
12
12
11
11
10
10
9
9
8
8
7
7
6
6
5
5
4
4
3
3
2
2
1
1
DISEG.
VERIF.
APPR.
FABB.
Qual.
SE NON SPECIFICATO:
QUOTE IN MILLIMETRI
FINITURA SUPERFICIE:
TOLLERANZE:
LINEARE:
ANGOLARE:
FINITURA:
INTERRUZIONE
BORDI NETTI
NOME
FIRMA
DATA
MATERIALE:
NON SCALARE DISEGNO
REVISIONE
TITOLO:
N. DISEGNO
SCALA:1:5
FOGLIO 1 DI 1
A0
PESO:
80016CR01
A A
B B
C C
D D
E E
F F
G G
H H
J J
K K
L L
M M
N N
P P
R R
T T
24
24
23
23
22
22
21
21
20
20
19
19
18
18
17
17
16
16
15
15
14
14
13
13
12
12
11
11
10
10
9
9
8
8
7
7
6
6
5
5
4
4
3
3
2
2
1
1
DISEG.
VERIF.
APPR.
FABB.
Qual.
SE NON SPECIFICATO:
QUOTE IN MILLIMETRI
FINITURA SUPERFICIE:
TOLLERANZE:
LINEARE:
ANGOLARE:
FINITURA:
INTERRUZIONE
BORDI NETTI
NOME
FIRMA
DATA
MATERIALE:
NON SCALARE DISEGNO
REVISIONE
TITOLO:
N. DISEGNO
SCALA:1:5
FOGLIO 1 DI 1
A0
PESO:
80016CR01
E
F
H
G
B
D
I
L
Cleaner working (rotation 360°)
Ash-drawer: ashes are released underneath
the repot

Table of Contents

Related product manuals