EasyManua.ls Logo

Raypak 130A - Page 29

Raypak 130A
36 pages
Print Icon
To Next Page IconTo Next Page
To Next Page IconTo Next Page
To Previous Page IconTo Previous Page
To Previous Page IconTo Previous Page
Loading...
29
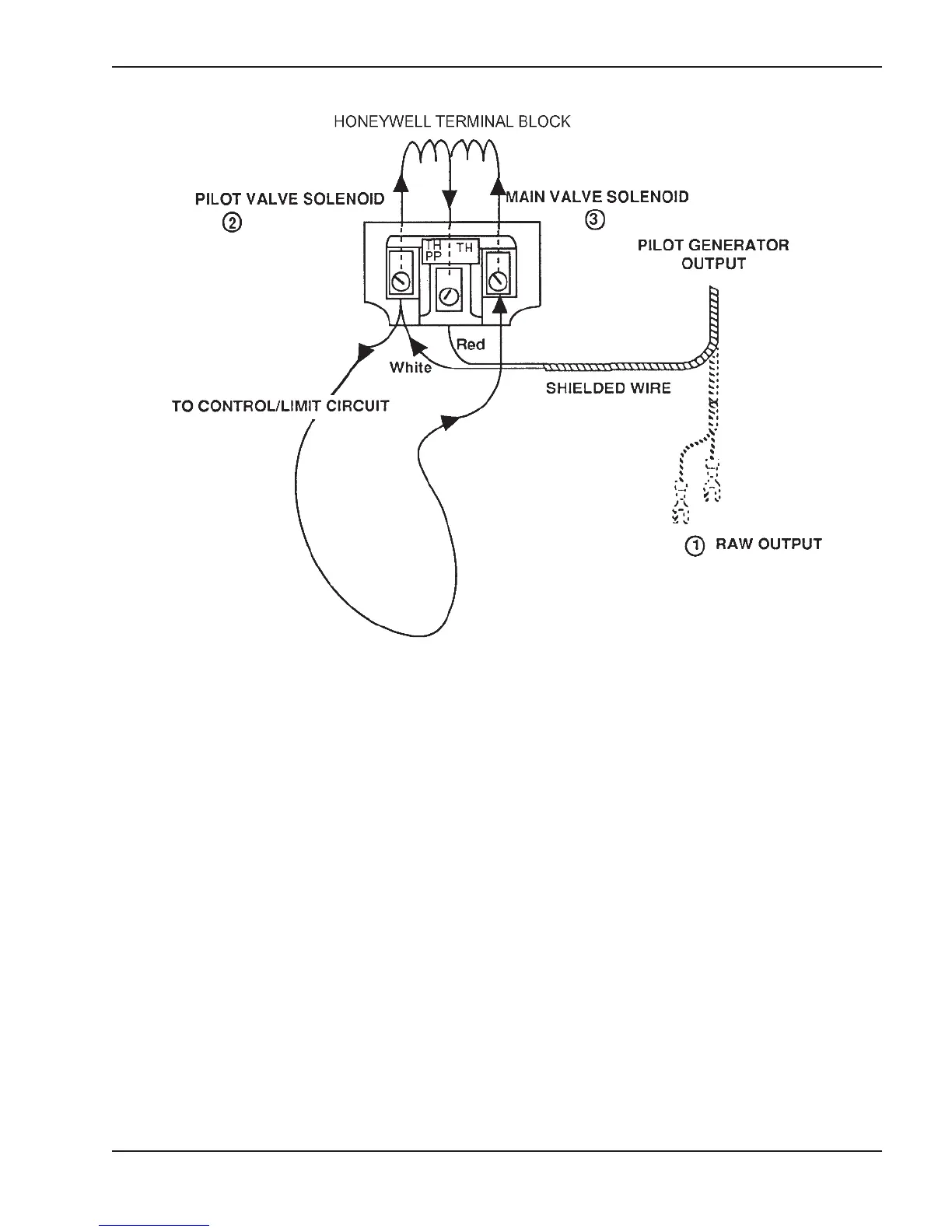
Terminal Block Wiring
Fig. 36: Terminal Block Wiring
1. Raw Output (700mV± 100)
Pilot generator disconnected from valve (knob must be held down to keep pilot on).
White Negative
Red + Positive
2. Pilot Load (500mV± 100)
Pilot generator connected to valve-Power applied to pilot solenoid.
TP(Thermopile-Robertshaw)
PP(Power Pile-Honeywell)
TH TP Common (Invensys)
TH PP Common (Honeywell)
3. Main Valve Load (200mV± 100)
Control/Limit circuit closed (All switches "ON")
TP(Thermopile-Robertshaw)
PP(Power Pile-Honeywell)
TH TP Common (Invensys)
TH PP Common (Honeywell)

Other manuals for Raypak 130A

Related product manuals