EasyManua.ls Logo

Raypak 259 - Page 31

Raypak 259
48 pages
Print Icon
To Next Page IconTo Next Page
To Next Page IconTo Next Page
To Previous Page IconTo Previous Page
To Previous Page IconTo Previous Page
Loading...
31
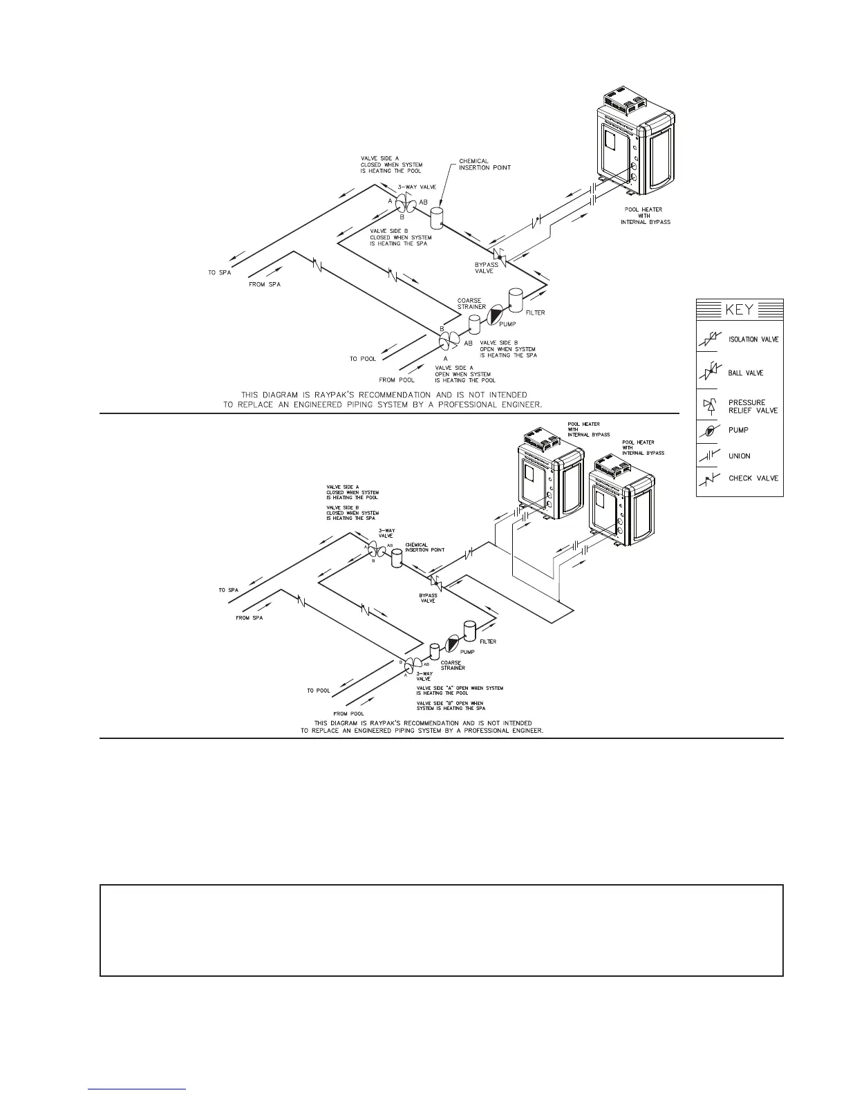
The heater requires water flow and positive pressure to fire and operate properly. It must therefore be installed
downstream of the discharge side of the filter pump. A typical installation is plumbed as follows:
1. The inlet side of the filter is plumbed directly to the discharge side of the filter pump;
2. The outlet side of the filter is then plumbed to the inlet of the heater; and
3. The outlet of the heater is plumbed to the return line to the pool or spa. The pump, filter and heater are thus
plumbed in series (Salt generators and chemical feeders must be down stream of the pool heater).
Heater must be located so that any water leaks will not damage the structure of adjacent area. PVC pipe may
be glued directly into header unions.
CAUTION: An additional source of heated water, e.g. a solar system, must be connected to the main line
ahead of the heater inlet pipe in order for it to act as the primary heat source. If the primary system provides
adequate heat to maintain set-point, the heater will not fire. Be advised that the control panel will then display
sensed water temperatures downstream of the primary heating system, rather than the temperature of the
water exiting the pool.
Plumbing from the heater back to the pool or spa must not have any valves or restriction that could prevent flow
when the pump is operating.
Single Pool/Spa Heater
Installation
Multiple Pool/Spa Heaters
Installation

Table of Contents

Related product manuals