EasyManua.ls Logo

Raytheon Beech Baron E55 - Page 268

Raytheon Beech Baron E55
903 pages
Print Icon
To Next Page IconTo Next Page
To Next Page IconTo Next Page
To Previous Page IconTo Previous Page
To Previous Page IconTo Previous Page
Loading...
Raytheon
Aircraft
BEECH
BARON
55
AND
58
SHOP
MANUAL
9
12
to
13
678
i
.8
IN
11
5
i
nit
~t
-~-f´•
.51N
F;
r´•L--------------------_-_-.LI~
.25
IN
t\AP
5/8-11
Lq
1)
i
1.25
INi
_TYP
2.9
IN
It
1AA_i
TAB
14
2
j1SO
1.30
IN
ITEM
QUANT.
DESCRIPTION
I
I
rr+
NO.
.68
IN
1
2
3/4
x
1
x
6
aluminum
or
equiv.
2
2
1
x
1
3/8
x
1
3/4
aluminum
or
equiv.
I
1
ii
3
1
1/2
x
7
1/2
x
10
aluminum
or
equiv.
4
1
C81Q
Indicator"
S
1
3/4
x
2
1/2
x
14
aluminum
or
equiv.
1.6
IN
6
114
Dia.
x
2
corrosion
res.
stl.
.31
IN
1
7
1
1/4
Die.
xl
corrosion
res.
stl.
8
1
1/4-28
nut
9
1
3/8
x
5
x
10
rubber
10
1
3/8
x
2
x
10
rubber
12
2
1/2
x
13
x
3
VLrER
Torque
screw
I
11
1
1/4
x
2
x
10
corrosion
res.
st].
13
2
KNB13
Keensert
or
tap
1/2
13
SECTION
A
A
14
2
1/8
x
1
x
3/4
rubber
7HIS
GROOVE
TO
BE
A
SNUG
FIT
tO
THE
SCREW
BRACKET
ON
"P/N
of
Federal
Products
Corp.,
Providence,
R.
I.
7HE
DIAL
INDICATOR
ioa.i,,-e
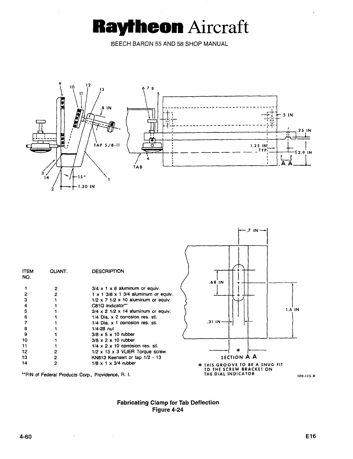
Fabricating
Clamp
for
Tab
Deflection
Figure
4-24
4-60
E16

Table of Contents

Related product manuals