EasyManua.ls Logo

Raytheon Beech Baron E55 - Page 427

Raytheon Beech Baron E55
903 pages
Print Icon
To Next Page IconTo Next Page
To Next Page IconTo Next Page
To Previous Page IconTo Previous Page
To Previous Page IconTo Previous Page
Loading...
BUS
EXISTING
INBOARD
EXISTING
OUTBOARD
(95-380012-1)
(95-380012-3)
#2
STUD
44
CONN.
84
STUD
FULL
42
STUD
I
?3
STUD
41
STUD
ns
STUD
ni
STUD
DASH
UNIT
JUMPER
~RE
[8
NOT
INSTALLED
ON
ALL
AIRCRAFT
55-364´•265
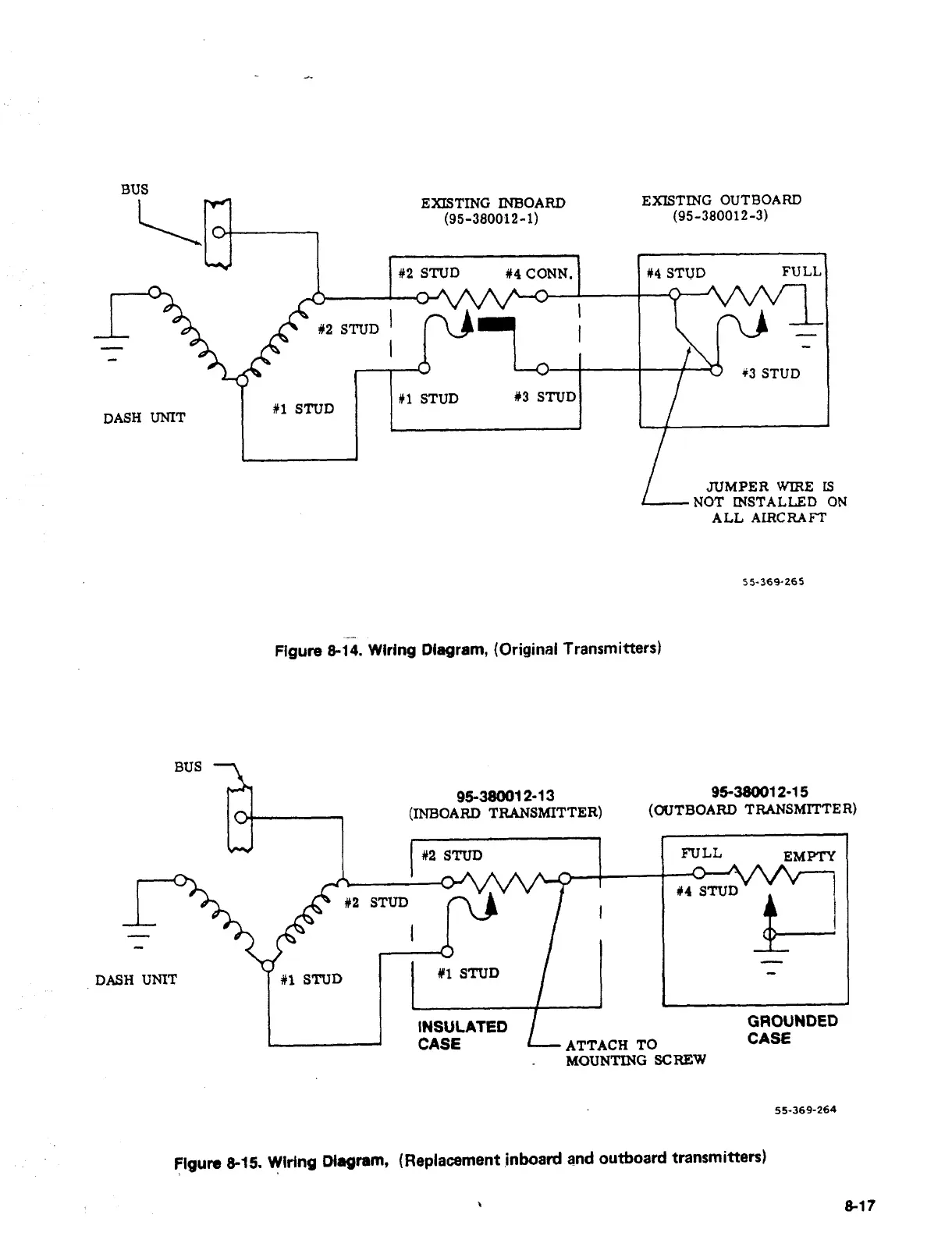
Figure
&14.
Wiring
Diagram,
(Oliginal
Transmit~ers)
BUS
95-38001
2-13
95-38001
2-15
(INBOARD
TRANSMITTER)
(OUTBOARD
TRANS~TER)
42
STUD
FULL
EMPTY
n~
STUD
nz
sTvD
nl
STUD
DASH
UNIT
nl
STUD
INSULATED
GROUNDED
CASE
ATTACH
TO
CASE
MOUNTING
SCRE~W
55-369-264
Figure
5-15.
Wi~ng
DI´•pnm.
(Replacament
inboanl
and
outt~ard
tranrmittero)
8-17

Table of Contents

Related product manuals