EasyManua.ls Logo

Raytheon Beech Baron E55 - Page 500

Raytheon Beech Baron E55
903 pages
Print Icon
To Next Page IconTo Next Page
To Next Page IconTo Next Page
To Previous Page IconTo Previous Page
To Previous Page IconTo Previous Page
Loading...
Qeechcraft
BARON
55
AND
58
SHOP
MANUAL
ARROW
INDICATES
DIRECTION
OF
OUT
ALR
FLOW
ADJUSTABLE
ORIFICE
REGULATOR
OVERBOARD
GYRO’
LDJRECTION1\1
GYRO
DIRECTION
HORIZON
GYRO
IU
HORIZ
ON
GYRO
L-
LI
=r
ii
Lrrl
~,===5=1
VENT
LINE
II
PRESSURE
LINE
TO
H-14
AUTOPILOT
TEST
GAGE
CYRO
~JJ
PRESSURE
INDICATOR
CHECK
VALVE’
LMANIFOLD
CHECK
VALVE
FILTER
EST
GAGE
PRESSURE
REGULATOR
PUMP
FILTER
5~-191-7
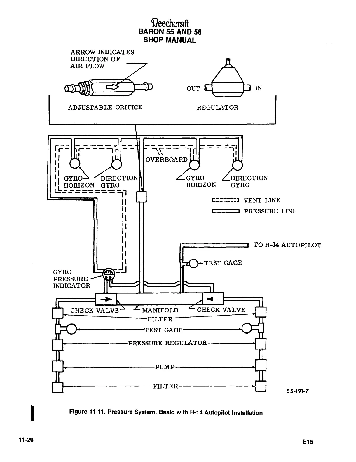
Figure
11-11.
Pressure
System,
Basic
with
H-14
Autopilot
Installation
11-20
E15

Table of Contents

Related product manuals