EasyManua.ls Logo

Raytheon Beech Baron E55 - Page 505

Raytheon Beech Baron E55
903 pages
Print Icon
To Next Page IconTo Next Page
To Next Page IconTo Next Page
To Previous Page IconTo Previous Page
To Previous Page IconTo Previous Page
Loading...
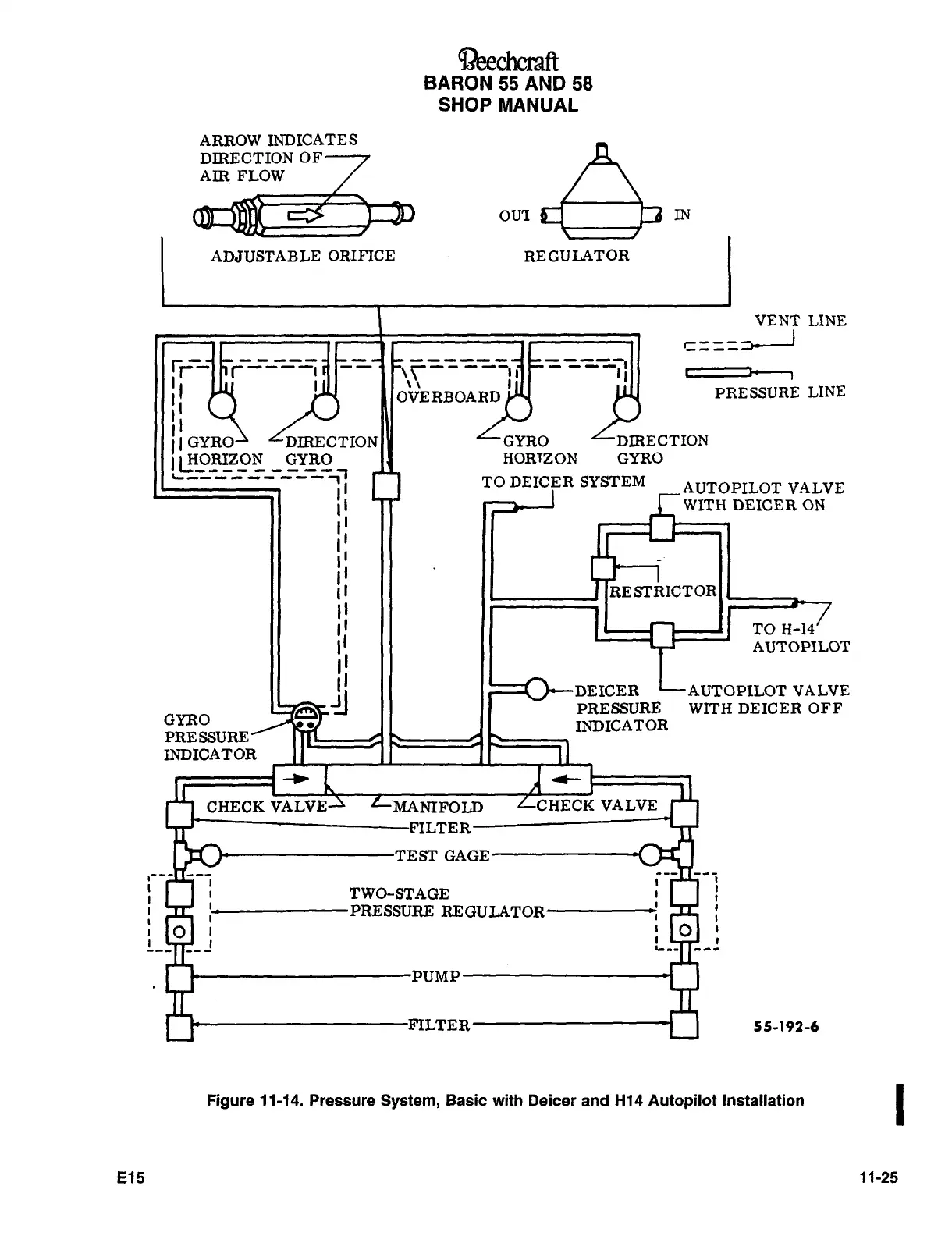
QeechcraR
BARON
55
AND
58
SHOP
MANUAL
ARROW
INDICATES
OU?
DIRECTION
OF
AIR
FLOW
ADJUSTABLE
ORIFICE
REGULATOR
VENT
LINE
C===~---J
r
-I
--7
i
II
r\
i~Y
I
I
OVE
RBOA
RD
PRESSURE
LINE
I
I
GYRO’
L
DIRE
CTIONJY
GYRO
DIRECTION
LH_O_RI_Z_ON
GYRO
HORTZON
GYRO
i-
i
1
TO
DEIC~R
SYSTEM
AUTOPILOT
VALVE
WITH
DEICER
ON
Il
II
II
I
IRE
STRICTOR
II
II II
Ii
I
I
Ii
TO
H-14
It
AUTOPILOT
(I
II
J-l
DEICER
L-AUTOPILOT
VALVE
PRESSURE
WITH
DEICER
OFF
GYRO
INDICATOR
PRESSURE
INDICATOR
-C
CHECK
VALVE"
LMANIFOLD
LCHECK
VALVE
TER
TEST
GAGE
TWO-STAGE
~--------------PRESSURE
REGULATOR
ol
1
!10
PUMP
TER
-I
1
55-192-6
Figure
11-14.
Pressure
System,
Basic
with
Deicer
and
H14
Autopilot
Installation
E15
11-25

Table of Contents

Related product manuals