EasyManua.ls Logo

Raytheon Beech Baron E55 - Page 512

Raytheon Beech Baron E55
903 pages
Print Icon
To Next Page IconTo Next Page
To Next Page IconTo Next Page
To Previous Page IconTo Previous Page
To Previous Page IconTo Previous Page
Loading...
Qeec~craft
BARON
55
AND
58
SHOP
MANUAL
DIRECTIONAL
HORIZONTAL
HORIZONTAL
GYRO
GYRO
DIRECTIONAL
GYRO
GYRO
FILTER
n
Y
Y
n
FILTER
PUMP
PUMP
INSTRUMENT
AIR
PRESSURE
INDICATOR
REGULATOR
SOLENOID
t
SOLENOID
CHECK
CHECK
FILTER
DUAL
PRESSURE
VALVE
VALVE
~UM
~RESSURE
RELIEF
VALVE
RELIEF
VALVE
LOCATION
TO
"TEE"
PNEUMATIC
(DEICE)
IN
TEST
GAGE
PRESSURE
GAGE
PRESSURE
LINE
VENT
LINE----
LH
WING
RH
WING
DEICE
DUPLEX
VALVE
EJECTOR
LH
STABILIZER
I
RH
STABILIZER
55-603-100
VERTICAL
STABILIZER
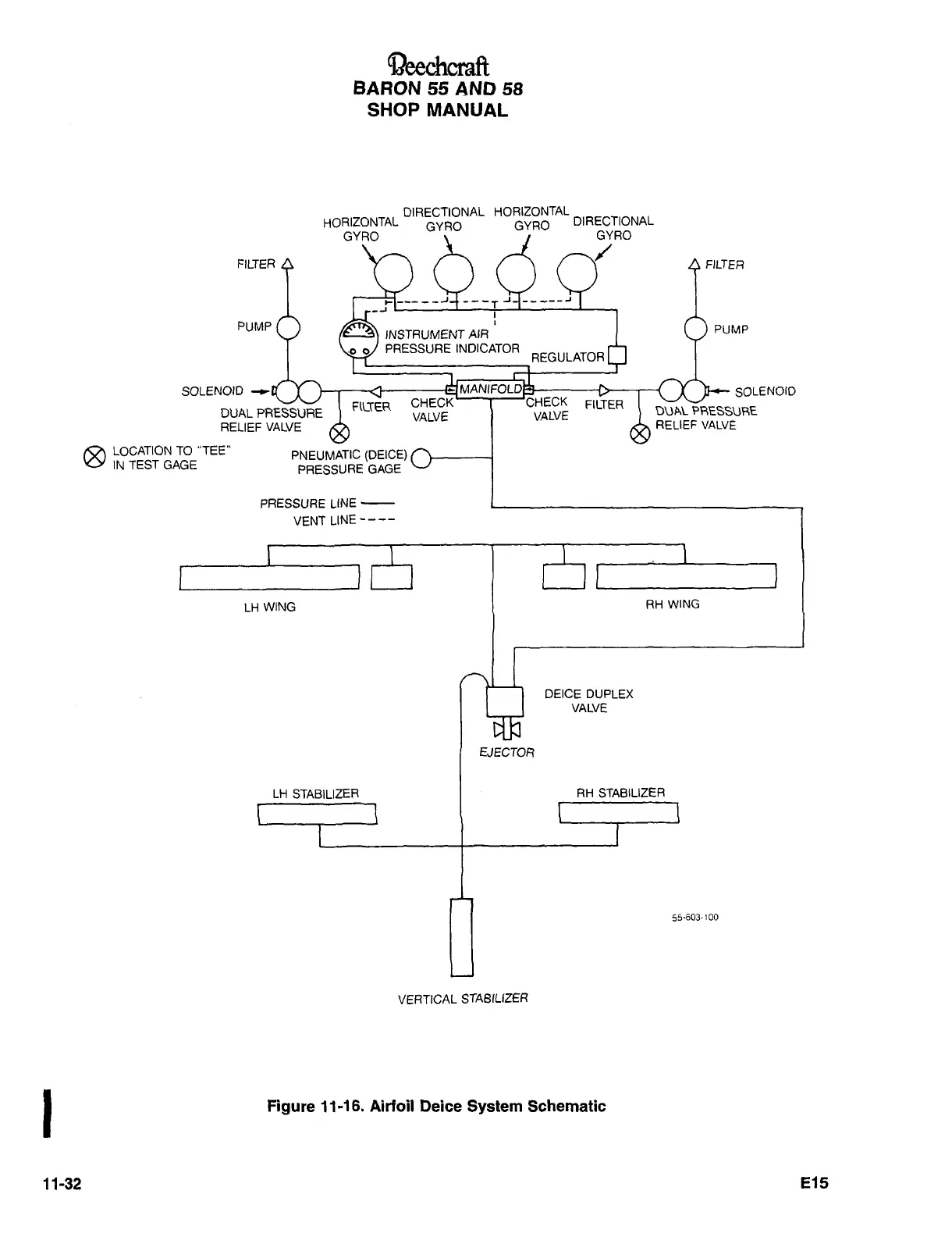
Figure
11-16.
Airfoil
Deice
System
Schematic
11-32
Ei5

Table of Contents

Related product manuals