EasyManua.ls Logo

Raytheon Beech Baron E55 - Page 710

Raytheon Beech Baron E55
903 pages
Print Icon
To Next Page IconTo Next Page
To Next Page IconTo Next Page
To Previous Page IconTo Previous Page
To Previous Page IconTo Previous Page
Loading...
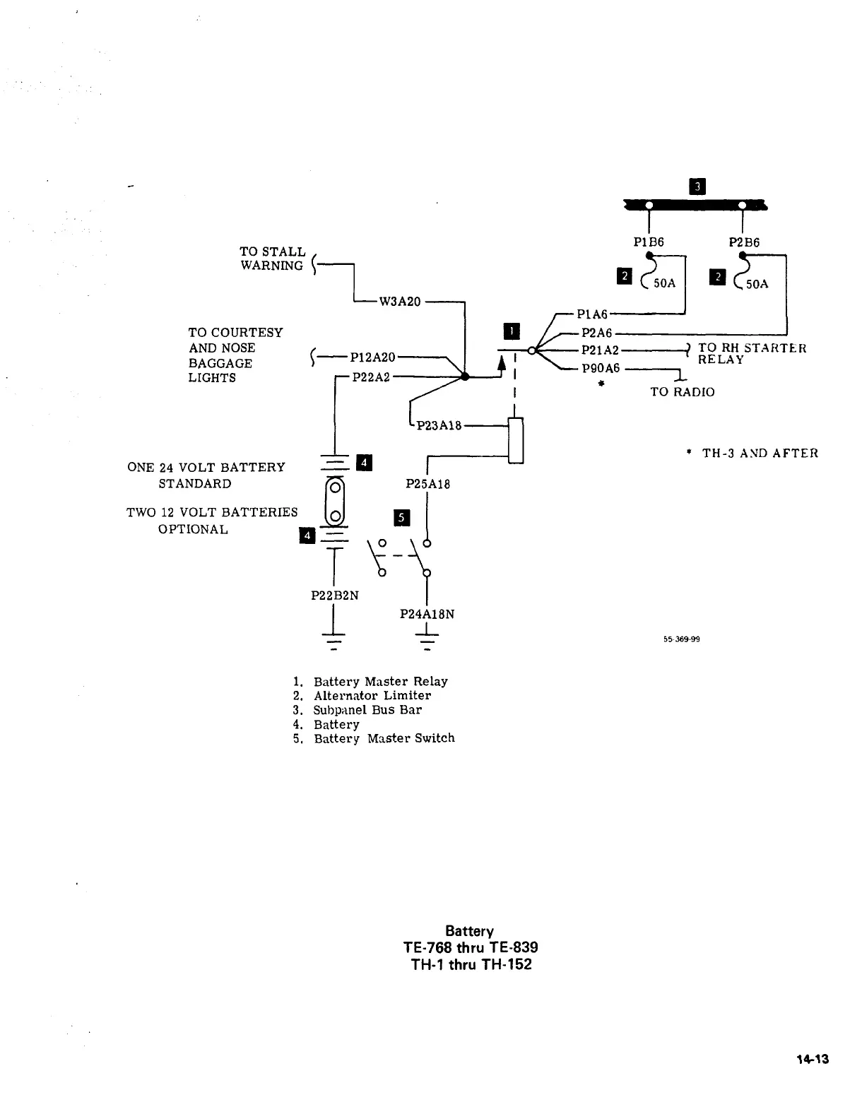
´•´•~4´•
P1
B6
P2B6
TO
STALL
s~n1150i\
50A
WARN~G
(-LW3A20
I
P12A20P1A6-----------’
TO
COURTESY
P2A6
AND
NOSE
PZ1A2--------~
TO
RH
STARTER
BAGGAGE
RELAY
P90A6
L
LIGHTS
1
P22A2
TO
RADIO
P23A18
TH-3
AND
AFTER
ONE
24
VOLT
BATTERY
STANDARD
jilji
P25p18
TWO
12
VOLT
BATTERIES
OPTIONAL
P22B2N
I
P24A1BN
-L
55-369´•99
1.
Battery
Master
Relay
2.
Alternator
Limiter
3.
Suhp~nel
Bus
Bar
4.
Battery
5.
Battery
Master
Switch
Battery
TE-768
thru
TE-839
TH-1
thru
TH-152
1e13

Table of Contents

Related product manuals