EasyManua.ls Logo

Raytheon Beech Baron E55 - Page 745

Raytheon Beech Baron E55
903 pages
Print Icon
To Next Page IconTo Next Page
To Next Page IconTo Next Page
To Previous Page IconTo Previous Page
To Previous Page IconTo Previous Page
Loading...
9
EBZA20N
_L
E13AIS--I
E61A20
PRINTED
CIRClilT
BOL\RDS
P~RE
MOUNTED
ON
INDICATOATERMINALS
E62BZON
I´•~
I
i
T3
LH
RH
I
nT4
Tt
r5
T4
T3
72
T4
T3
000
an
ooo
T,
’PI
T5
T2
T1
T5
8’
o
0
o
o
Ic~
E64A20
E63AM
B
PRIFITEO
CIRCJIT
50P~A3
E64B20
E63B?O
E64C20N
E63C20N
1
i
M~69
111*
i.
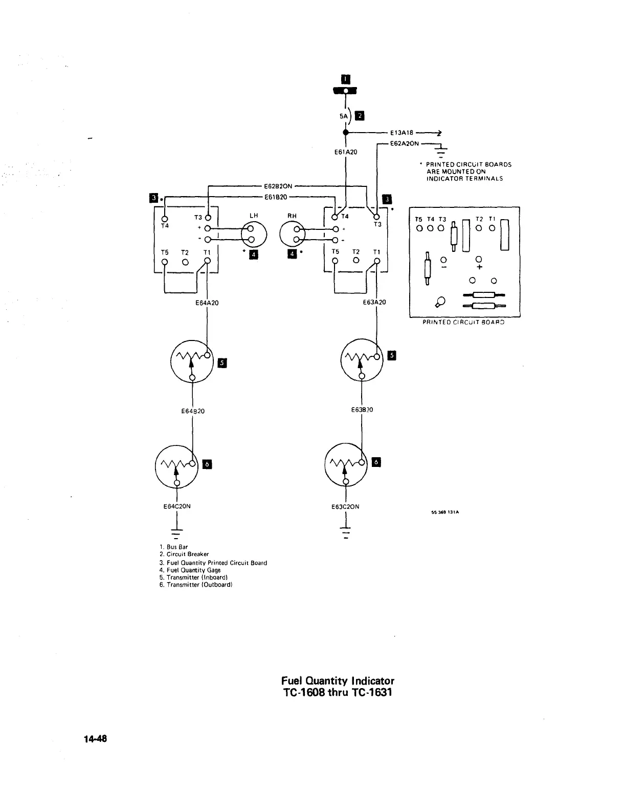
Bus
Bar
2.
Circuit
Breaker
3.
Fuel
Quantity
Printed
Circuit
Board
4.
Fuel
Quantity
Gage
5.
Transmitter
(Inboard~
6.
Transmitter
(Outboard)
Fuel
Ouantity
Indicator
TC-1608
thru
TC-1631
14-48

Table of Contents

Related product manuals