EasyManua.ls Logo

Raytheon Beech Baron E55 - Page 752

Raytheon Beech Baron E55
903 pages
Print Icon
To Next Page IconTo Next Page
To Next Page IconTo Next Page
To Previous Page IconTo Previous Page
To Previous Page IconTo Previous Page
Loading...
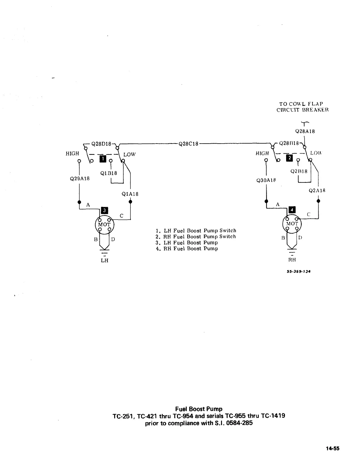
TO
CO~L
FL~P
CIRCUIT
DREhKER
r
Q28A18
Q28D18~
---gzsci8
Q281~18
HIGH
9------
LOW
HIGH
i.nu
g
\o
ilegis18P
Qzr\l
8
6129A18
1
1
I
QSOAIP
Q2
.1\)8
Q1A18
A
T
T
i\
c
I
~1,
c
MOT
~lor
i.
LH
Fuel
Boost
Pump
Switch
B
D
2.
RH
Fuel
Boost
Pump
Switch
R
i,
3.
LH
Fuel
Boost
Pump
4.
RH
Fuel
Boost
Pump
LH
RH
55-369-134
Fuel
Boost
Pump
TC-251,
TC-421
thru
TC-954
and
serials
TC-955
thru
TC-t419
prior
to
compliance
with
5.i.
0584-285
te55

Table of Contents

Related product manuals