EasyManua.ls Logo

Raytheon Beech Baron E55 - Page 770

Raytheon Beech Baron E55
903 pages
Print Icon
To Next Page IconTo Next Page
To Next Page IconTo Next Page
To Previous Page IconTo Previous Page
To Previous Page IconTo Previous Page
Loading...
8
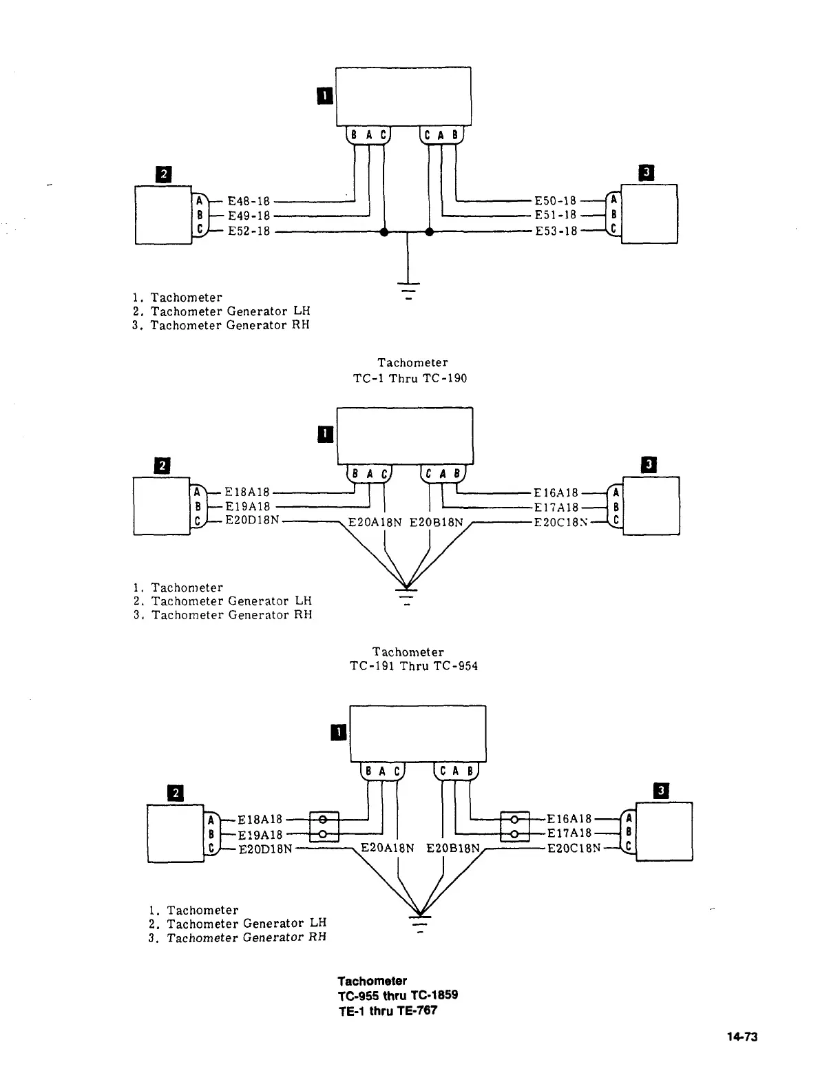
A
C1
IC
A
B
IE~
II
1
III
P
E48-18
I
L----~E50-18
E49-18
I I
L----------
E51-18
E52-18
E53-18
i.
Tachometer
2.
Tachometer
Generator
LH
3.
Tachometer
Generator
RH
Tachometer
TC-1
Thru
TC-190
an~-iiTJ
B
[II~E:
E18A18----------J
I I I
I
L----------E16A18---IA
E19A18
I
I
L---------E17A18---~
B
E20D18N
E20A18NE20B18N
/------E20C18$
-~C
i.
Tachometer
2.
Tachometer
Generator
LH
3.
Tachometer
Generator
RH
Tachometer
TC-191
Thru
TC-954
B
A
CI
ICA
B
PI
E18A18---~C--J
I
I
I I
L-~0t--E16A18---(A
E!9A18
--$-Ot--]
I
I
B
E20D1
BN
---------~E20A18N
E20Br8N/---------
E20C
18N
i.
Tachometer
2.
Tachometer
Generator
LH
3.
Tachometer
Generator
RH
Tachometer
TC-955
thru
TC-1859
TE-l
thru
TE-767
14-79

Table of Contents

Related product manuals